Запчасти Komatsu PC400-5 АККУМУЛЯТОРН. ОТСЕК(№-) ЧАСТИ КОРПУСА

Схема запчастей Komatsu PC400-5 - АККУМУЛЯТОРН. ОТСЕК(№-) ЧАСТИ КОРПУСА
FIT
1:1
100%

Артикул

Название

Примечание

Количество

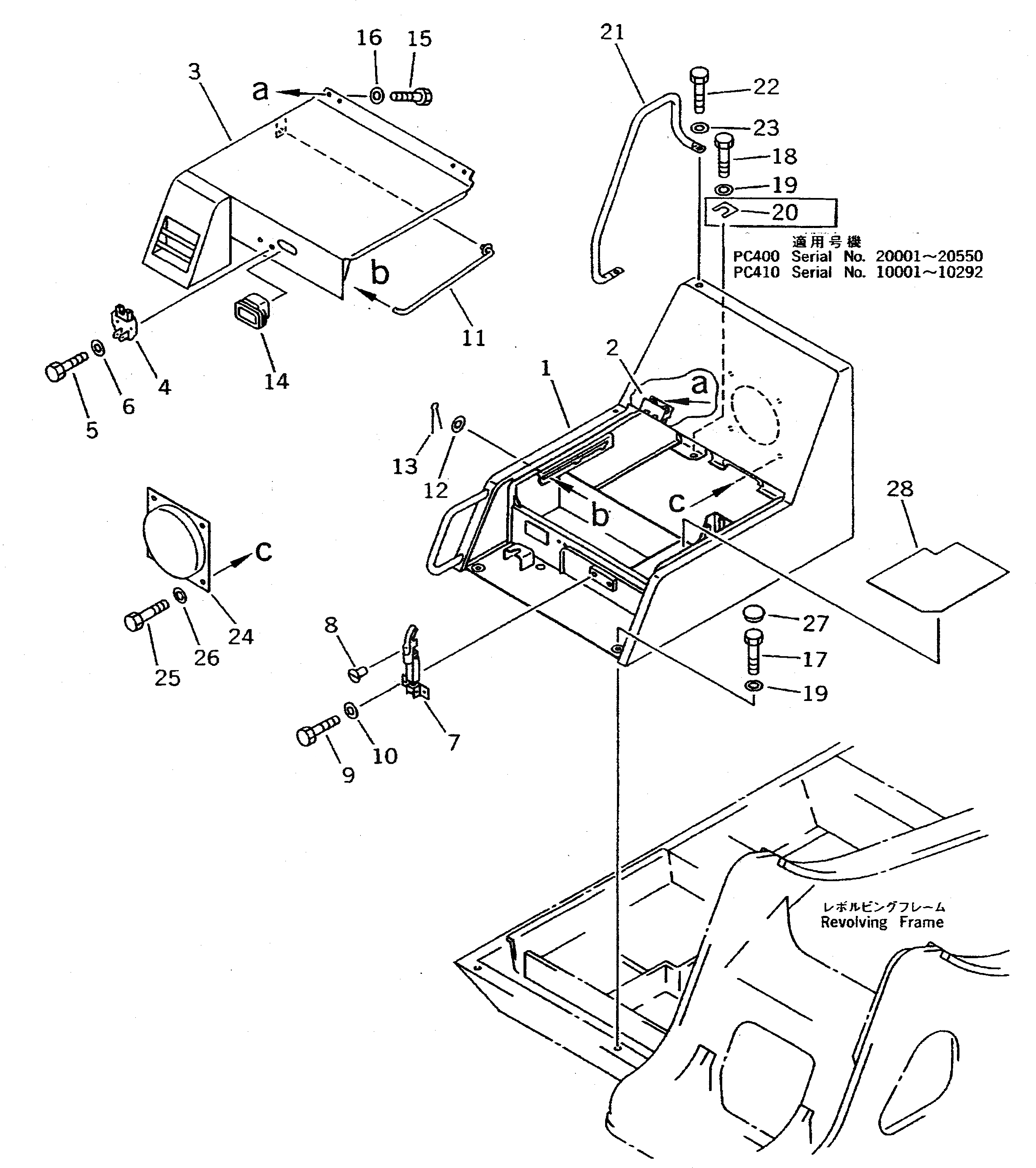
1

207-54-52610

COVER

|1

207-54-52314

COVER

2

20Y-54-12650

HINGE (WELDED)

3

207-54-52324

COVER

|3

207-54-52323

COVER

4

205-54-67660

SUPPORT

5

01010-50820

BOLT

6

01643-30823

WASHER

7

205-54-76260

CATCHER

8

205-54-76280

ROTOR ASS'Y

9

01010-50820

BOLT

10

01643-30823

WASHER

11

20Y-54-12630

BAR

12

01643-31032

WASHER

13

04050-13018

PIN,COTTER

14

209-54-12280

HANDLE

15

01010-51025

BOLT

|15

01010-51030

BOLT

16

175-54-34170

WASHER

|16

175-43-41160

WASHER

|16

01643-31032

WASHER

17

01010-51230

BOLT

18

01010-51245

BOLT

19

01643-31232

WASHER

20

20Y-54-18190

PLATE

21

20Y-54-12660

HAND RAIL

22

01010-51230

BOLT

23

01643-31232

WASHER

24

207-54-52472

COVER

25

01010-51220

BOLT

26

01643-31232

WASHER

27

198-54-41941

CAP

28

207-54-52350

SHEET

Выбрано товаров: 33