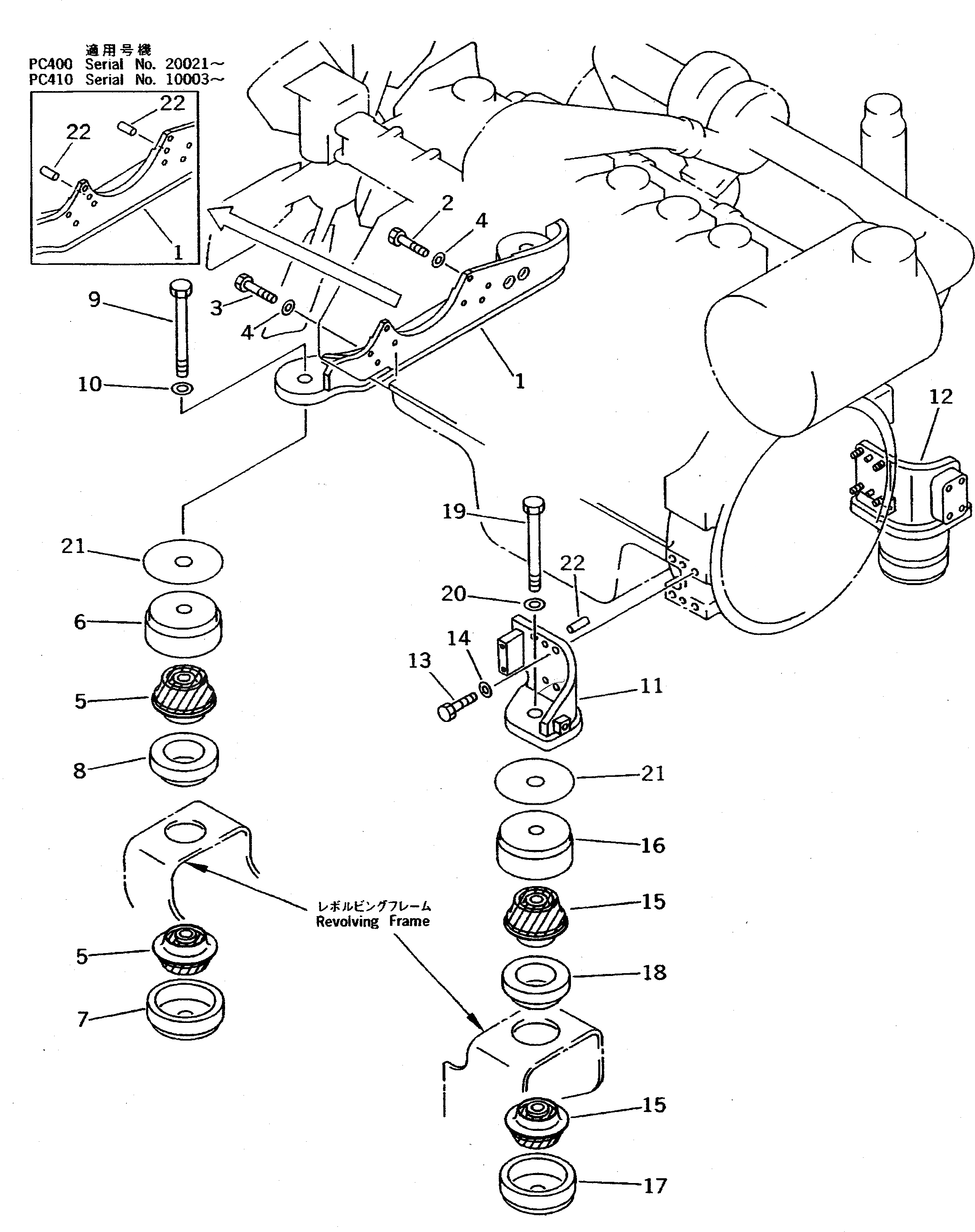
Запчасти Komatsu PC400-5 КРЕПЛЕНИЕ ДВИГАТЕЛЯ(№-) КОМПОНЕНТЫ ДВИГАТЕЛЯ И ЭЛЕКТРИКА

Схема запчастей Komatsu PC400-5 - КРЕПЛЕНИЕ ДВИГАТЕЛЯ(№-) КОМПОНЕНТЫ ДВИГАТЕЛЯ И ЭЛЕКТРИКА
FIT
1:1
100%

Артикул

Название

Примечание

Количество

1

208-01-55310

BRACKET

2

01010-51090

BOLT

|2

01010-51095

BOLT

3

01010-51040

BOLT

|3

01010-51045

BOLT

4

01643-31032

WASHER

5

207-01-35140

CUSHION

6

208-01-55340

STOPPER

7

208-01-55350

STOPPER

8

208-01-55210

COLLAR

9

208-01-11181

BOLT

10

01643-32460

WASHER

11

208-01-55320

BRACKET

12

208-01-55331

BRACKET

13

01010-51645

BOLT

14

01643-31645

WASHER

15

207-01-35140

CUSHION

16

208-01-55340

STOPPER

17

208-01-55350

STOPPER

18

208-01-55210

COLLAR

19

208-01-11181

BOLT

20

01643-32460

WASHER

21

207-46-31180

PLATE

22

04020-01228

PIN

|22

04020-01228

PIN

Выбрано товаров: 25