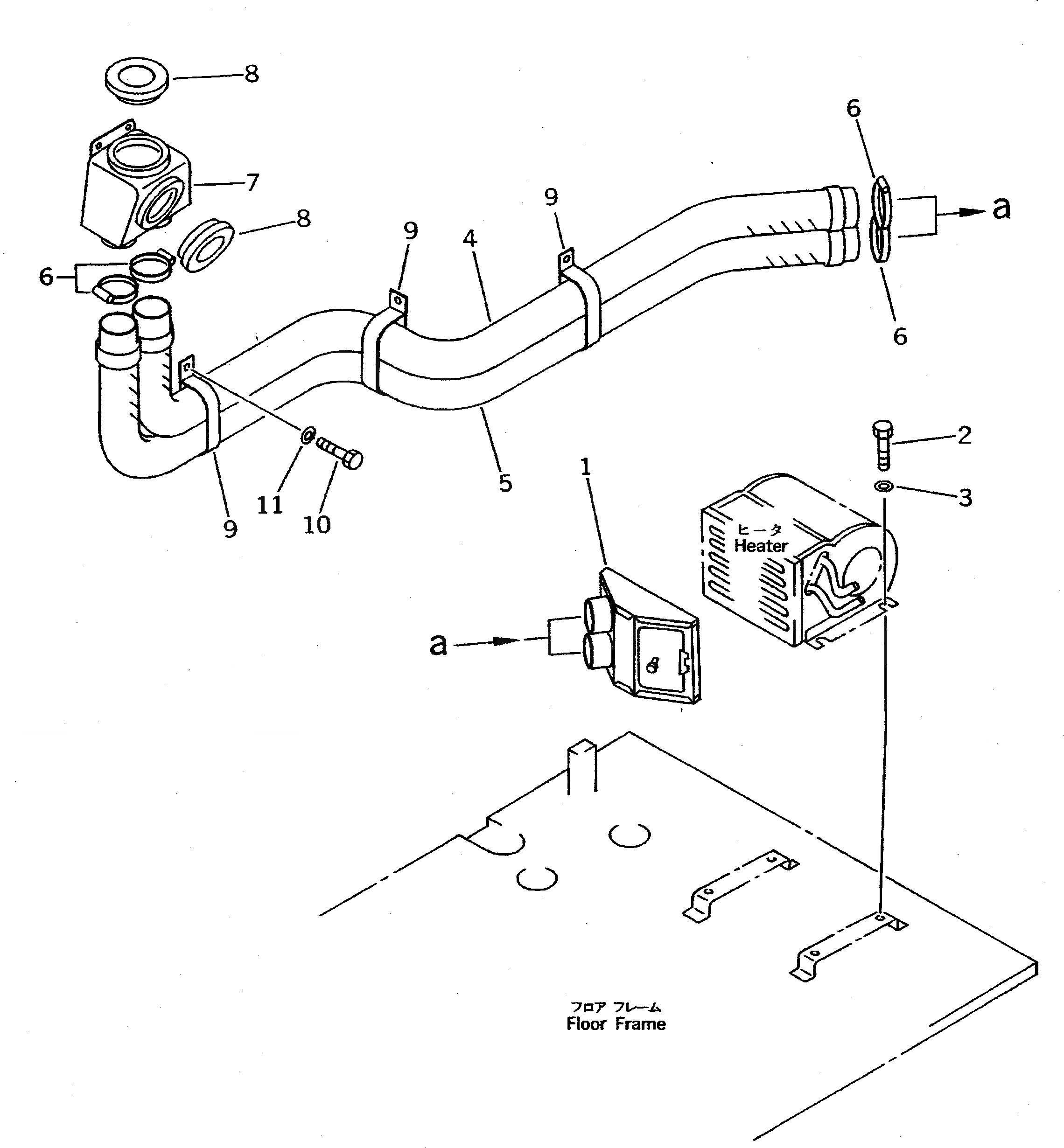
Запчасти Komatsu PC400-5 ГИДР. ПРОВОД. ОБОГРЕВАТЕЛЯ (ВОЗД.) (KUK СПЕЦ-Я.)(№-) ЧАСТИ КОРПУСА

Схема запчастей Komatsu PC400-5 - ГИДР. ПРОВОД. ОБОГРЕВАТЕЛЯ (ВОЗД.) (KUK СПЕЦ-Я.)(№-) ЧАСТИ КОРПУСА
FIT
1:1
100%

Артикул

Название

Примечание

Количество

1

205-977-7260

COVER

2

01010-51020

BOLT

3

01643-31032

WASHER

4

20Y-977-K122

HOSE

5

20Y-977-K140

HOSE

6

07281-00809

CLAMP

7

20Y-54-K1140

DEMISTER

8

205-977-K220

VENT

9

20Y-43-K1150

CLIP

10

01010-50616

BOLT

11

01641-20608

WASHER

Выбрано товаров: 11