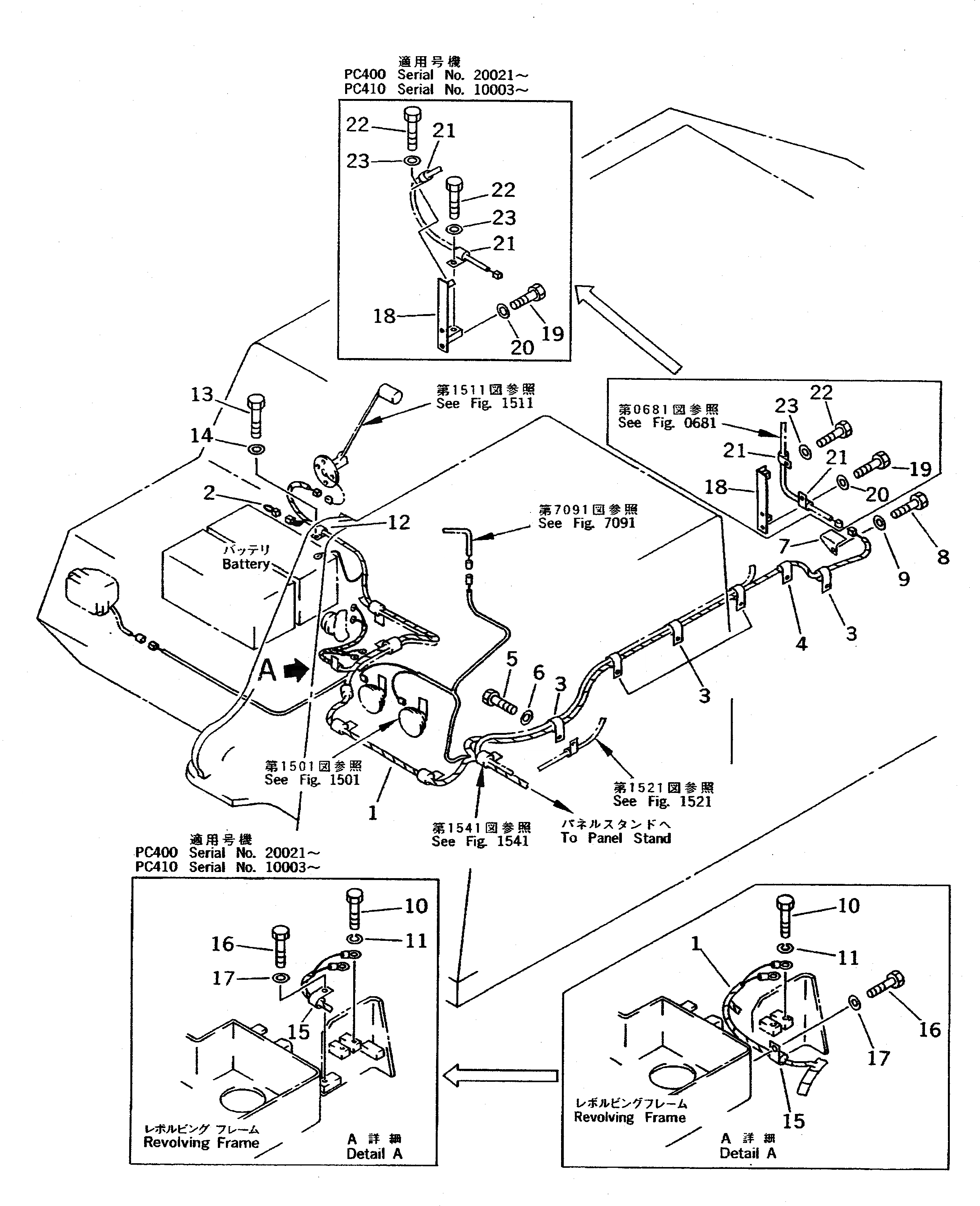
Запчасти Komatsu PC400-5 ЭЛЕКТРИКА (ЭЛЕКТРОПРОВОДКА) (КАБИНА - ДВИГАТЕЛЬ Э/ПРОВОДКА)(№-) КОМПОНЕНТЫ ДВИГАТЕЛЯ И ЭЛЕКТРИКА

Схема запчастей Komatsu PC400-5 - ЭЛЕКТРИКА (ЭЛЕКТРОПРОВОДКА) (КАБИНА - ДВИГАТЕЛЬ Э/ПРОВОДКА)(№-) КОМПОНЕНТЫ ДВИГАТЕЛЯ И ЭЛЕКТРИКА
FIT
1:1
100%

Артикул

Название

Примечание

Количество

1

208-06-51291

WIRING HARNESS

2

20Y-06-15150

FUSIBLE LINK

3

08036-03014

CLIP

4

08036-01814

CLIP

5

01010-51225

BOLT

6

01643-31232

WASHER

7

208-06-51410

COVER

8

01010-51220

BOLT

9

01643-31232

WASHER

10

01010-50816

BOLT

11

01602-20825

WASHER,SPRING

12

08036-01214

CLIP

13

01010-51225

BOLT

14

01643-31232

WASHER

15

08035-01514

CLIP

16

01010-51225

BOLT

17

01643-31232

WASHER

18

208-06-51460

BRACKET

|18

208-06-51370

BRACKET

19

01010-51225

BOLT

|19

01010-51220

BOLT

20

01643-31232

WASHER

21

08036-01214

CLIP

22

01010-51225

BOLT

23

01643-31232

WASHER

Выбрано товаров: 25