Запчасти Komatsu PC400-5 ДОПОЛН. ГИДРОЛИНИЯ (ШАССИ) (УПРАВЛЯЮЩ. КЛАПАН TO/FROM БЛОК)(№-) УПРАВЛ-Е РАБОЧИМ ОБОРУДОВАНИЕМ

Схема запчастей Komatsu PC400-5 - ДОПОЛН. ГИДРОЛИНИЯ (ШАССИ) (УПРАВЛЯЮЩ. КЛАПАН TO/FROM БЛОК)(№-) УПРАВЛ-Е РАБОЧИМ ОБОРУДОВАНИЕМ
FIT
1:1
100%

Артикул

Название

Примечание

Количество

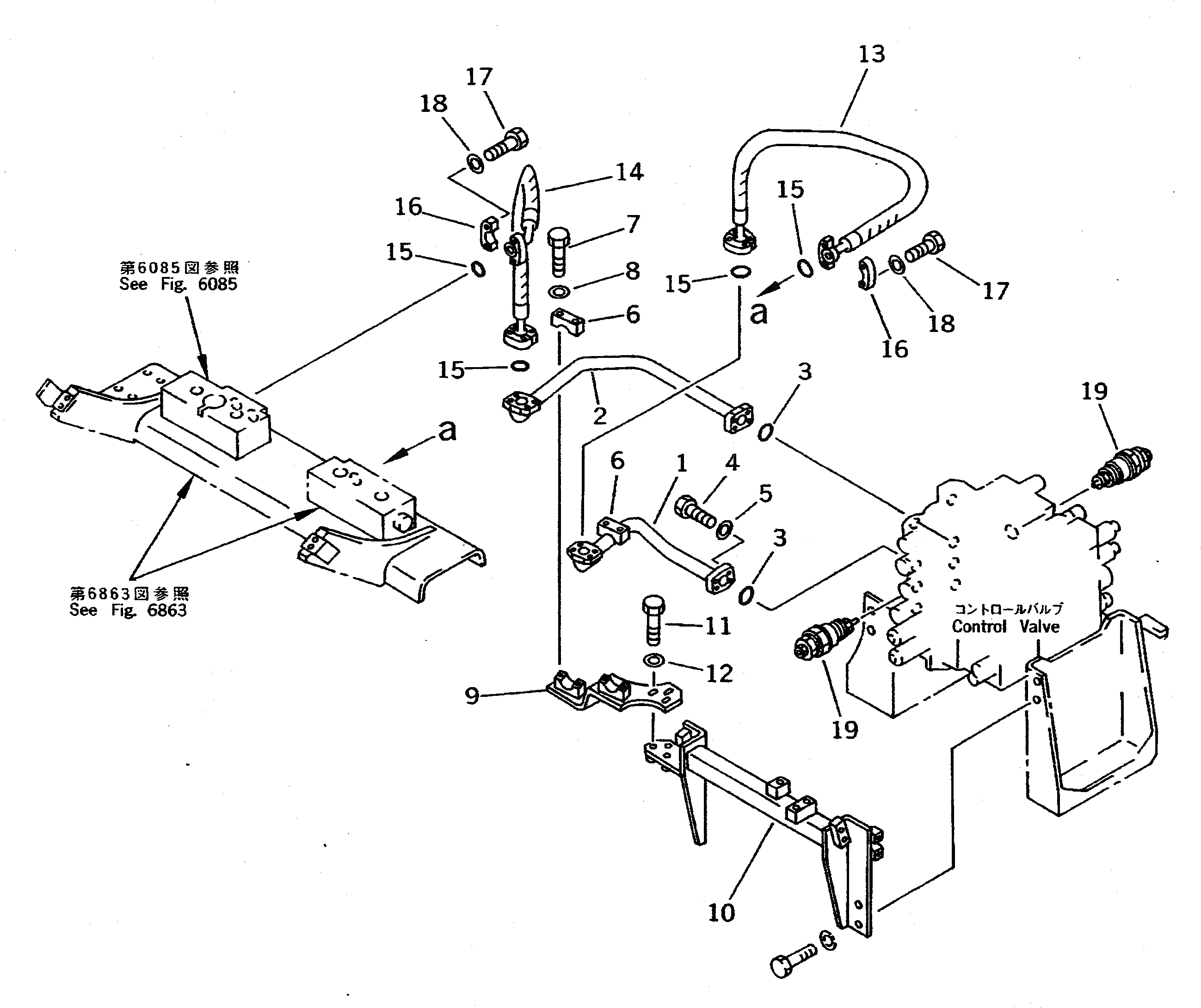
G-1

208-970-X110

PIPING KIT

1

207-970-5230

TUBE

2

207-970-5221

TUBE

3

21T-09-11470

O-RING

4

07372-21040

BOLT

5

01643-51032

WASHER

6

21T-62-74730

CLAMP

7

01010-51250

BOLT

8

01643-31232

WASHER

9

207-970-5311

BRACKET

10

207-970-5470

BRACKET

11

01010-51235

BOLT

12

01643-31232

WASHER

13

07099-01012

HOSE

14

07097-01007

HOSE

15

07000-13032

O-RING

16

07371-31049

FLANGE

17

07372-21035

BOLT

18

01643-51032

WASHER

19

709-90-71400

VALVE ASS'Y

Выбрано товаров: 20