Запчасти Komatsu PC400-5 КОВШ¤ .M¤ MM (ВЕРТИКАЛЬН. ПАЛЕЦ)(№-) РАБОЧЕЕ ОБОРУДОВАНИЕ (ЭКСКАВАТ.)

Схема запчастей Komatsu PC400-5 - КОВШ¤ .M¤ MM (ВЕРТИКАЛЬН. ПАЛЕЦ)(№-) РАБОЧЕЕ ОБОРУДОВАНИЕ (ЭКСКАВАТ.)
FIT
1:1
100%

Артикул

Название

Примечание

Количество

G-1

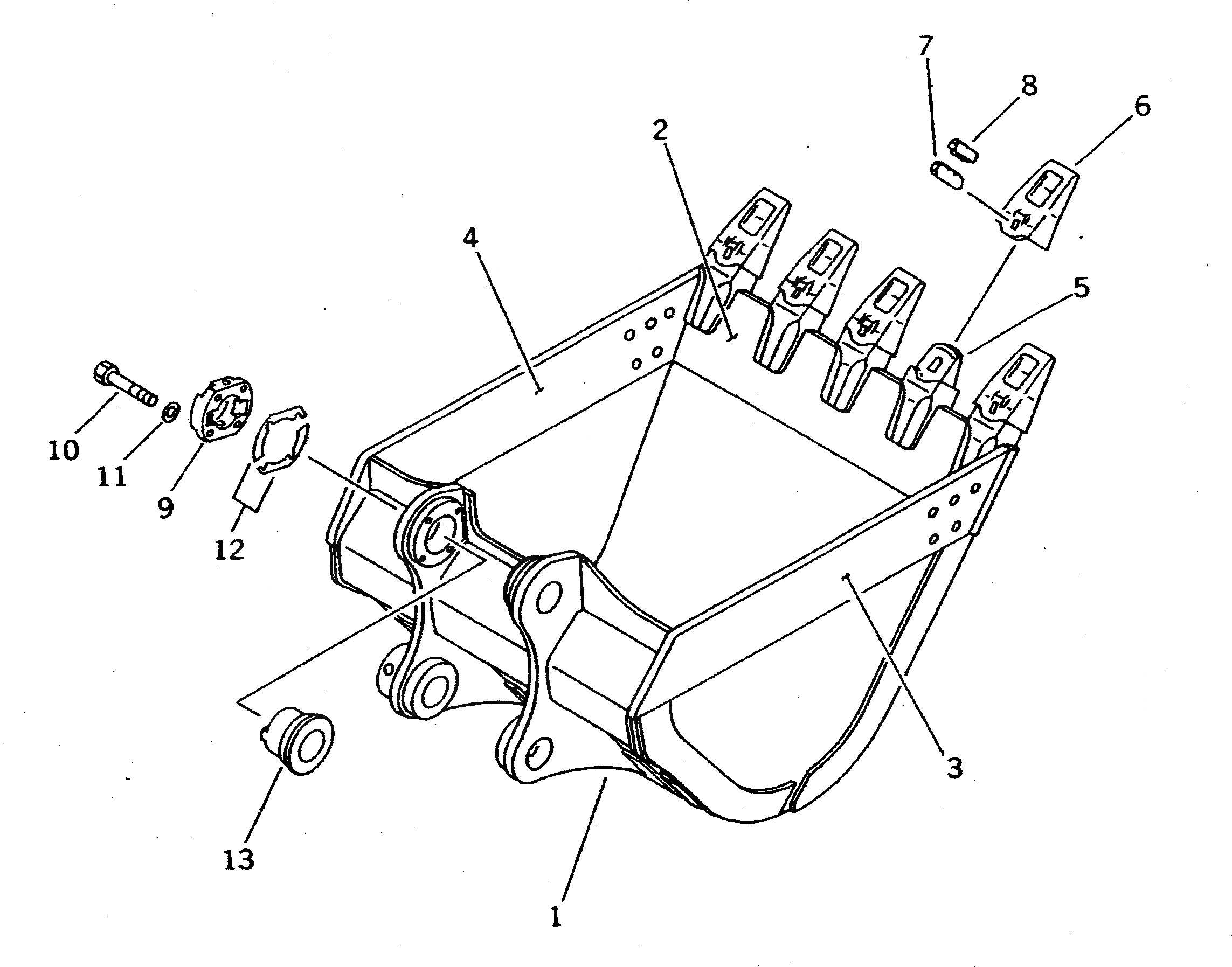
208-70-X4010

BUCKET GROUP

1

208-70-54111

BUCKET

2

208-70-54140

PLATE (WELDED)

3

208-70-54131

PLATE (WELDED)

|3

208-70-54130

PLATE (WELDED)

4

208-70-54121

PLATE (WELDED)

|4

208-70-54120

PLATE (WELDED)

5

208-70-34150

ADAPTER (WELDED)

6

208-70-34211

TOOTH

7

208-70-34220

PIN

8

208-70-34191

LOCK

9

208-70-34240

COVER

10

01010-32470

BOLT

|10

01010-52470

BOLT

11

01643-32460

WASHER

G-2

208-70-X4030

PARTS GROUP,INDIVIDUALLY FORWARDING

12

208-70-00080

SHIM ASS'Y

|12

SHIM¤ 0.5MM

|12

SHIM¤ 1.0MM

13

208-70-34230

BUSHING

Выбрано товаров: 20