Запчасти Komatsu PC400-5 СТРЕЛА (ДЛЯ НИЖН. ПОГРУЗ.)(№-) РАБОЧЕЕ ОБОРУДОВАНИЕ (ПОГРУЗ.)

Схема запчастей Komatsu PC400-5 - СТРЕЛА (ДЛЯ НИЖН. ПОГРУЗ.)(№-) РАБОЧЕЕ ОБОРУДОВАНИЕ (ПОГРУЗ.)
FIT
1:1
100%

Артикул

Название

Примечание

Количество

G-1

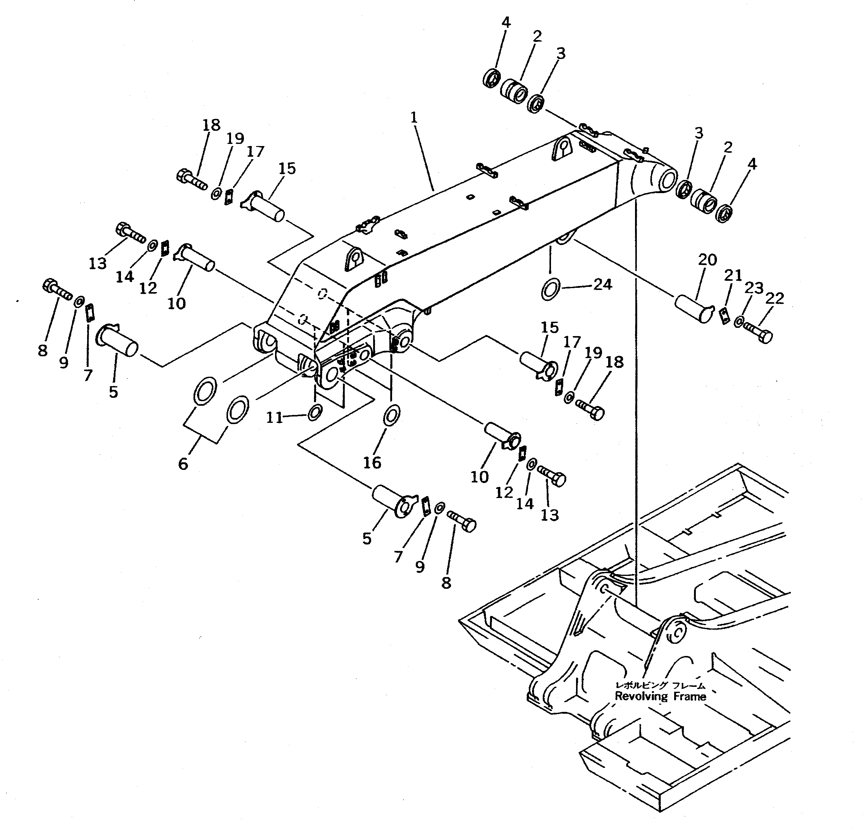
208-72-X1010

BOOM GROUP

|1

208-72-00100

BOOM ASS'Y

1

BOOM

2

208-70-31220

BUSHING

3

07145-00120

SEAL,DUST

4

07145-00120

SEAL,DUST

G-2

208-72-X1020

BOOM GROUP

5

208-72-51150

PIN

6

208-70-31290

SPACER¤ 0.8MM

7

207-70-31230

PLATE

8

01010-51640

BOLT

9

01643-31645

WASHER

10

208-72-14170

PIN

11

205-70-51520

SPACER¤ 1.0MM

12

205-70-66580

PLATE

13

01010-51235

BOLT

14

01643-31232

WASHER

15

208-70-31210

PIN

16

207-70-11340

SPACER¤ 0.8MM

17

205-70-66580

PLATE

18

01010-51235

BOLT

19

01643-31232

WASHER

20

208-70-31190

PIN

21

205-70-66580

PLATE

22

01010-51235

BOLT

23

01643-31232

WASHER

24

207-70-11360

SPACER¤ 1.0MM

Выбрано товаров: 27