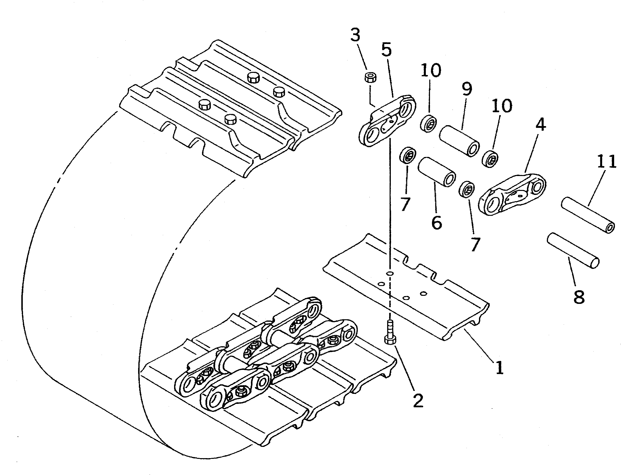
Запчасти Komatsu PC400-5 ГУСЕНИЦЫ (ОДИНОЧН. ГРУНТОЗАЦЕП) (УСИЛ.)(№-) ХОДОВАЯ

Схема запчастей Komatsu PC400-5 - ГУСЕНИЦЫ (ОДИНОЧН. ГРУНТОЗАЦЕП) (УСИЛ.)(№-) ХОДОВАЯ
FIT
1:1
100%

Артикул

Название

Примечание

Количество

|1

208-32-02162

TRACK SHOE ASS'Y

|1

208-32-02161

TRACK SHOE ASS'Y

1

208-32-51380

SHOE,TRACK

2

208-32-51231

BOLT¤ SHOE (KIT)

|2

208-32-51230

BOLT¤ SHOE (KIT)

3

208-32-51220

NUT¤ SHOE (KIT)

|4

208-32-00101

TRACK LINK ASS'Y

4

208-32-51121

LINK,TRACK¤ L.H.

5

208-32-51131

LINK,TRACK¤ R.H.

6

208-32-51140

BUSHING,REGULAR

7

154-32-11283

SEAL,DUST¤ REGULAR¤ W-TYPE

8

154-820-1153

PIN

9

208-32-51170

BUSHING,MASTER

10

154-32-11260

SEAL,DUST¤ MASTER¤ W-TYPE

11

208-32-51190

PIN,MASTER

|1

208-32-05061

SHOE BOLT AND NUT K.

|1

208-32-05060

SHOE BOLT AND NUT K.

1

208-32-51231

BOLT¤ SHOE

|1

208-32-51230

BOLT¤ SHOE

2

208-32-51220

NUT¤ SHOE

6

154-98-09411

BUSHING¤ REGULAR

8

154-98-09212

PIN¤ REGULAR

9

154-98-09441

BUSHING¤ MASTER

11

208-98-09030

PIN¤ MASTER

6

154-98-09431

BUSHING¤ REGULAR

8

154-98-09232

PIN¤ REGULAR

9

154-98-09461

BUSHING¤ MASTER

11

208-98-09040

PIN¤ MASTER

Выбрано товаров: 28