Запчасти Komatsu PC400-5 УПРАВЛ-Е СТОЙКА И РЫЧАГ (ДЛЯ УДЛИНН. РЫЧАГ УПРАВЛ-Е) (ДЛЯ ПОГРУЗ.)(№-) СИСТЕМА УПРАВЛЕНИЯ И ОСНОВНАЯ РАМА

Схема запчастей Komatsu PC400-5 - УПРАВЛ-Е СТОЙКА И РЫЧАГ (ДЛЯ УДЛИНН. РЫЧАГ УПРАВЛ-Е) (ДЛЯ ПОГРУЗ.)(№-) СИСТЕМА УПРАВЛЕНИЯ И ОСНОВНАЯ РАМА
FIT
1:1
100%

Артикул

Название

Примечание

Количество

G-1

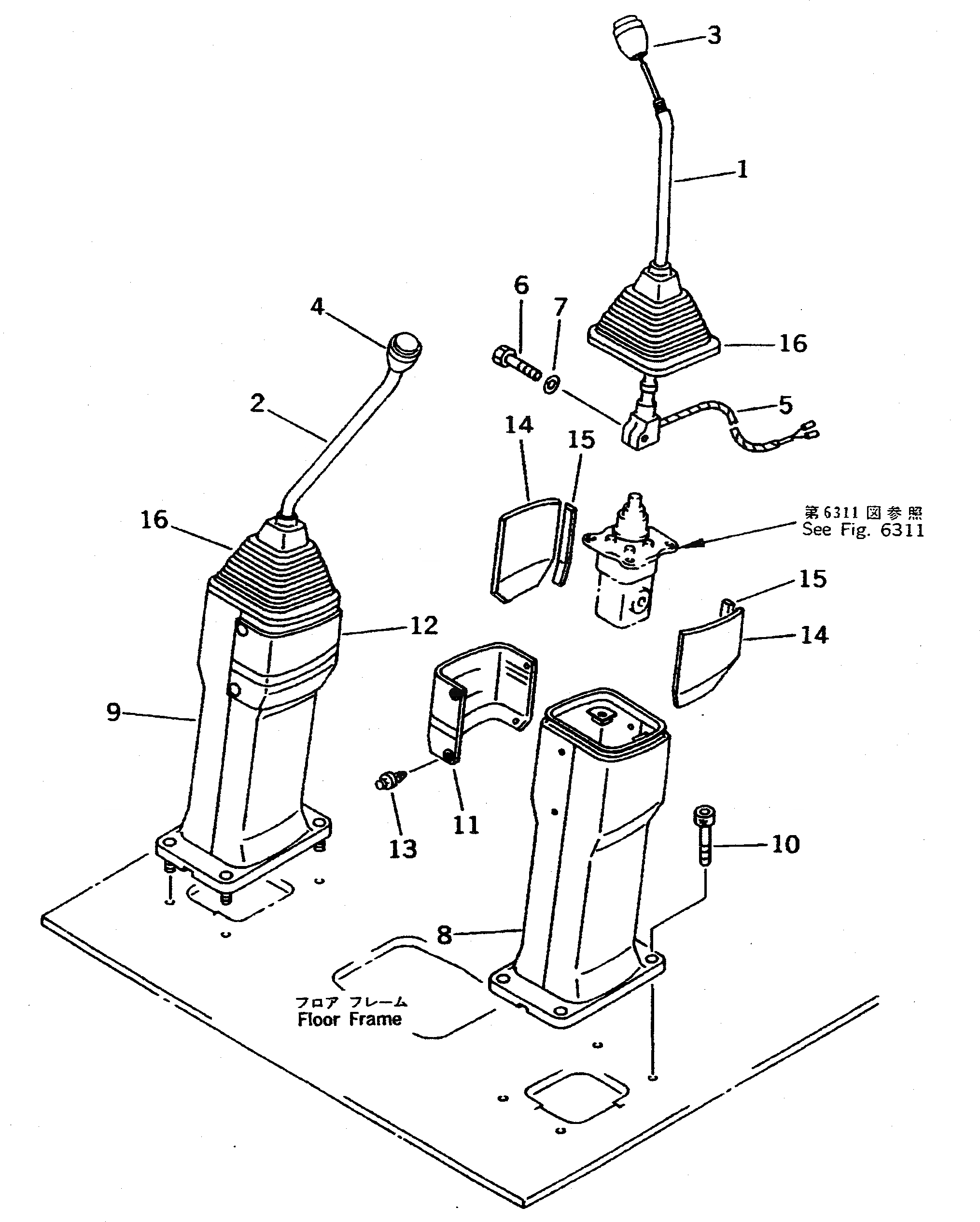
208-43-X6010

CONTROL GROUP

1

20Y-43-15222

LEVER,L.H.

|1

20Y-43-15221

LEVER,L.H.

2

203-43-56342

LEVER,R.H.

|2

203-43-56341

LEVER,R.H.

3

209-43-13442

SWITCH

4

209-43-13442

SWITCH

5

20Y-06-16590

TUBE

6

01010-51030

BOLT

|6

01010-50825

BOLT

7

01643-51032

WASHER

|7

01643-50823

WASHER

8

20Y-43-15370

STAND,L.H.

9

20Y-43-15380

STAND,R.H.

10

203-43-56360

BOLT

11

203-43-56510

COVER,L.H.

12

203-43-56520

COVER,R.H.

13

203-43-56590

PLUG

14

203-43-56540

MAT

15

203-43-56580

MAT

16

203-43-51131

BOOT

Выбрано товаров: 0