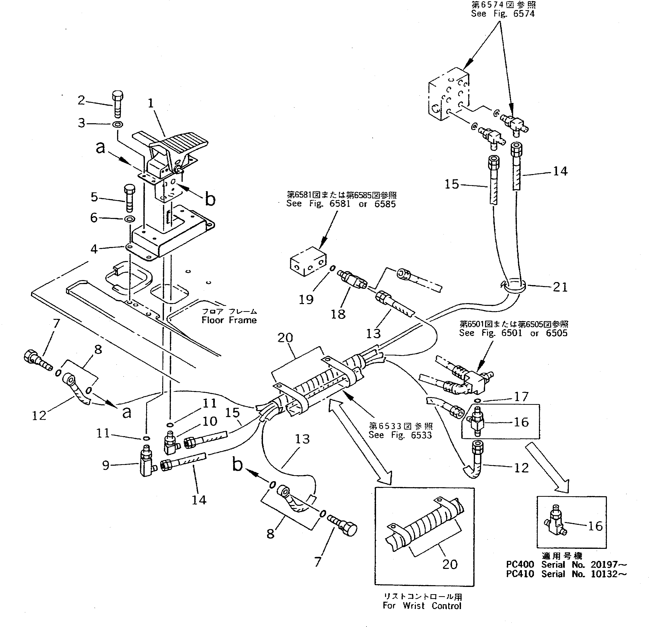
Запчасти Komatsu PC400-5 ГЛАВН. ТРУБЫ (ПЕДАЛЬ TO/FROM РАСПРЕДЕЛИТ. КЛАПАН)(С ДОПОЛН. ГИДРОЛИНИЕЙ) УПРАВЛ-Е РАБОЧИМ ОБОРУДОВАНИЕМ

Схема запчастей Komatsu PC400-5 - ГЛАВН. ТРУБЫ (ПЕДАЛЬ TO/FROM РАСПРЕДЕЛИТ. КЛАПАН)            (С ДОПОЛН. ГИДРОЛИНИЕЙ) УПРАВЛ-Е РАБОЧИМ ОБОРУДОВАНИЕМ
FIT
1:1
100%

Артикул

Название

Примечание

Количество

G-1

208-970-X110

PIPING KIT

1

20Y-970-1711

PEDAL ASS'Y

2

01010-50825

BOLT

3

01643-30823

WASHER

4

20Y-970-1721

BRACKET

5

01010-51025

BOLT

6

01643-31032

WASHER

7

706-46-56290

BOLT

8

07000-02018

O-RING

9

20Y-970-1741

ELBOW

10

20Y-970-1731

ELBOW

11

07002-01423

O-RING

12

20Y-62-17310

HOSE,(RED)

12

20Y-62-17310

HOSE

13

207-970-5580

HOSE,(BLUE)

13

20Y-62-17540

HOSE

14

20Y-62-17360

HOSE, 2300MM,(WHITE)

14

20Y-62-17360

HOSE, 2300MM

15

20Y-62-17360

HOSE, 2300MM,(YELLOW)

15

20Y-62-17360

HOSE, 2300MM

16

209-62-27580

TEE

16

209-62-57210

TEE

17

07002-02034

O-RING

18

21T-62-29960

TEE

19

07002-01423

O-RING

20

20Y-970-1770

CLIP,(FOR LONG LEVER CONTROL)

20

113-899-7950

CLIP,(FOR WRIST CONTROL)

21

08034-00519

BAND

Выбрано товаров: 28