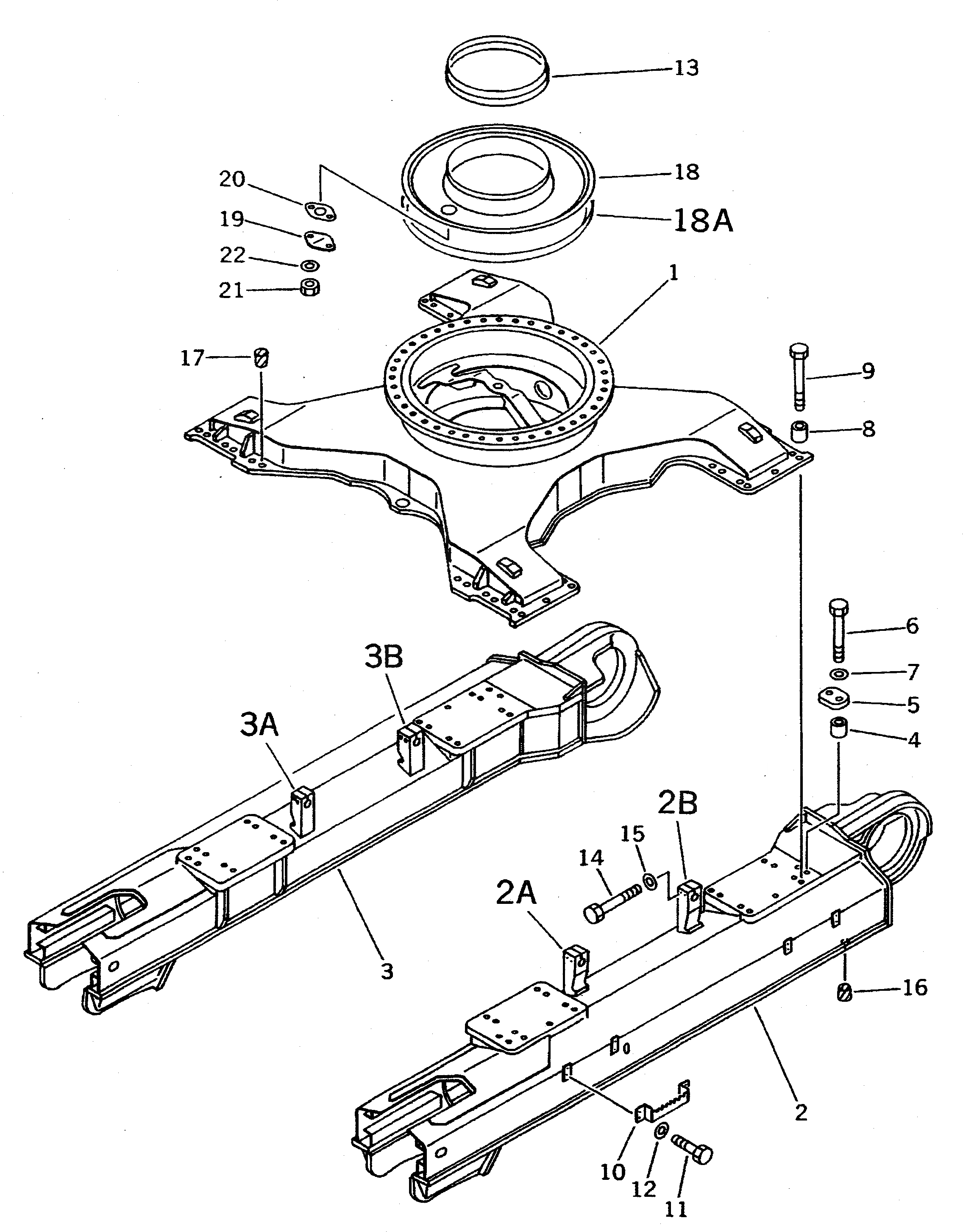
Запчасти Komatsu PC400-5 ГУСЕНИЧНАЯ РАМА (С РЕГУЛЯТОРОМ) (СПЕЦ-Я TBG)(№-) ХОДОВАЯ

Схема запчастей Komatsu PC400-5 - ГУСЕНИЧНАЯ РАМА (С РЕГУЛЯТОРОМ) (СПЕЦ-Я TBG)(№-) ХОДОВАЯ
FIT
1:1
100%

Артикул

Название

Примечание

Количество

1

208-30-58111

FRAME

2

208-30-58310

FRAME,L.H.

2A

208-30-51420

PLATE (WELDED)

2B

208-30-51410

PLATE (WELDED)

3

208-30-58320

FRAME,R.H.

3A

208-30-51410

PLATE (WELDED)

3B

208-30-51420

PLATE (WELDED)

4

208-30-31650

COLLAR

5

208-30-12160

PLATE

6

01011-63030

BOLT

7

01643-33080

WASHER

8

208-30-11971

SPACER

9

208-30-12130

BOLT

10

208-30-51261

BRACKET

11

01010-31640

BOLT

12

01643-31645

WASHER

13

205-30-71171

SEAL

14

01011-32000

BOLT

15

01643-32060

WASHER

16

07049-02430

PLUG,(FOR W/O. FULL ROLLER GUARD)

17

07049-03949

PLUG

18

208-30-51211

COVER

18A

207-30-51260

SEAL

19

205-30-71181

COVER

20

205-30-71191

GASKET

21

01580-11008

NUT

22

01643-31032

WASHER

Выбрано товаров: 27