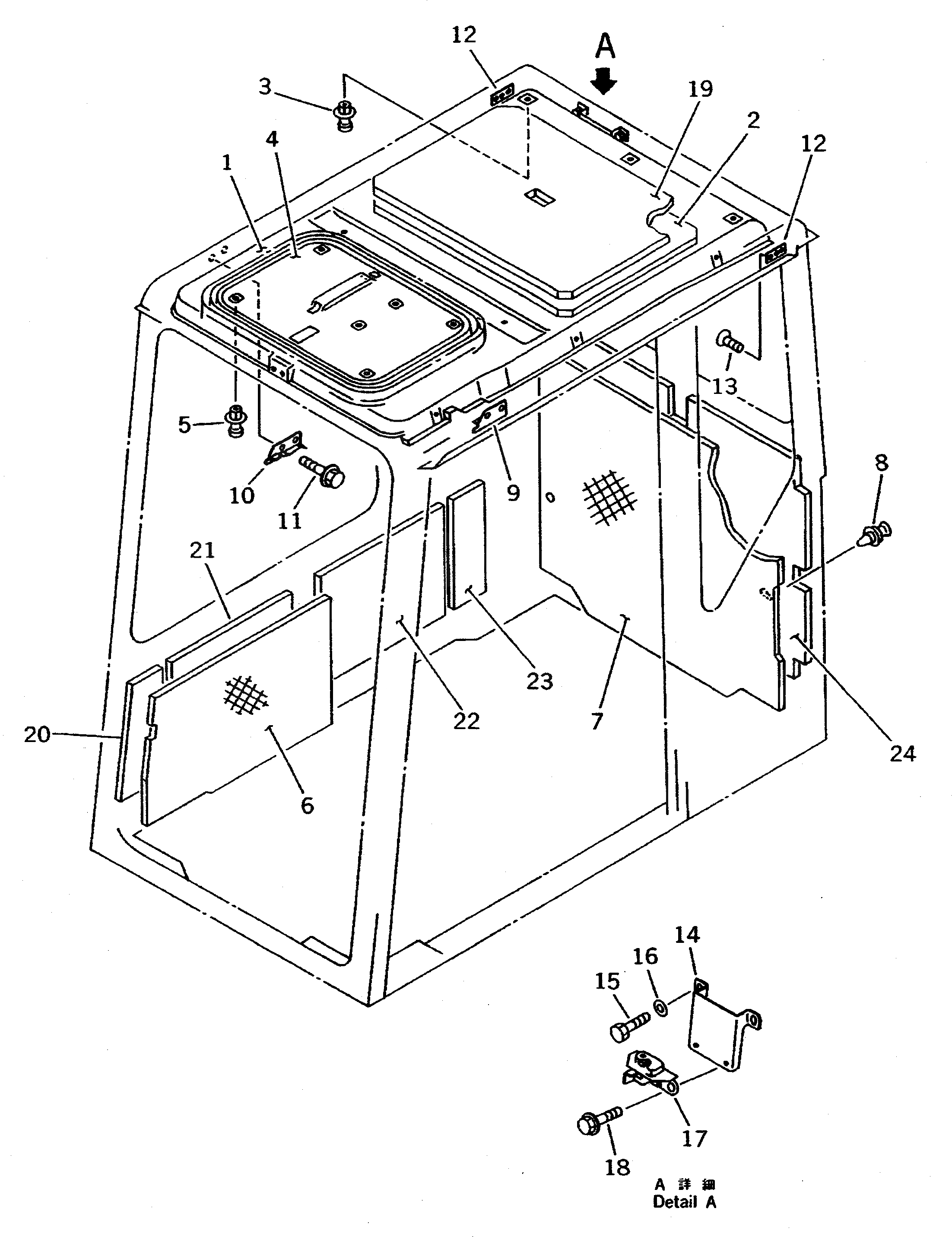
Запчасти Komatsu PC400-5C КАБИНА (/7) (ВНУТР. ПОКРЫТИЕ) ЧАСТИ КОРПУСА

Схема запчастей Komatsu PC400-5C - КАБИНА (/7) (ВНУТР. ПОКРЫТИЕ) ЧАСТИ КОРПУСА
FIT
1:1
100%

Артикул

Название

Примечание

Количество

G-1

207-54-X1721

OPERATOR'S CAB GROUP

G-1

207-54-X1720

OPERATOR'S CAB GROUP

|$3

207-54-00133

OPERATOR'S CAB ASS'Y

|$4

207-54-00132

OPERATOR'S CAB ASS'Y

|$5

207-54-00131

OPERATOR'S CAB ASS'Y

|$6

207-54-00130

OPERATOR'S CAB ASS'Y

1

20Y-54-11924

COVER

2

20Y-54-11961

SHEET

3

20Y-54-13870

RIVET

4

20Y-54-14460

COVER

5

20Y-54-13870

RIVET

6

20Y-54-13432

LINING

7

20Y-54-11913

COVER

8

20Y-54-14560

CLIP ASS'Y

9

20Y-54-11532

DOVE TAIL,L.H.

10

20Y-54-11542

DOVE TAIL,R.H.

11

01435-01016

BOLT

12

20Y-54-14721

LOCK

13

01435-00820

BOLT

14

20Y-54-13910

BRACKET

15

01010-51020

BOLT

16

01643-31032

WASHER

17

205-54-63310

LOCK ASS'Y

18

01435-00820

BOLT

19

20Y-54-13840

SHEET

20

20Y-54-13810

SHEET

21

20Y-54-13820

SHEET

22

20Y-54-13790

SHEET

23

20Y-54-13780

SHEET

24

20Y-54-13830

SHEET

Выбрано товаров: 30