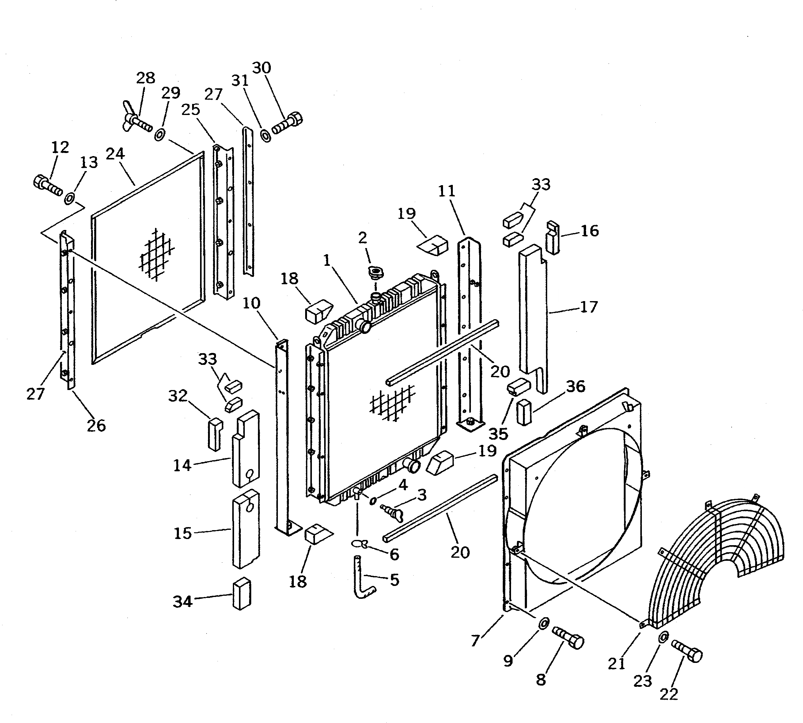
Запчасти Komatsu PC400-5C РАДИАТОР(№-) КОМПОНЕНТЫ ДВИГАТЕЛЯ И ЭЛЕКТРИКА

Схема запчастей Komatsu PC400-5C - РАДИАТОР(№-) КОМПОНЕНТЫ ДВИГАТЕЛЯ И ЭЛЕКТРИКА
FIT
1:1
100%

Артикул

Название

Примечание

Количество

1

208-03-51111

CORE ASS'Y

1

208-03-51110

RADIATOR

2

205-03-71280

CAP ASS'Y

3

205-03-62660

PLUG

4

07000-01007

O-RING

5

205-03-71230

HOSE

6

20Y-03-11330

CLIP

7

208-03-52320

SHROUD

8

01010-51225

BOLT

9

01643-31232

WASHER

10

208-03-52160

FRAME

11

208-03-52150

FRAME

12

01010-51225

BOLT

13

01643-31232

WASHER

14

208-03-51171

SEAL

15

207-03-51331

SEAL

16

207-03-51341

SEAL

17

208-03-52241

SEAL

18

208-03-52171

SEAL

19

208-03-52181

SEAL

20

208-03-52191

SHEET

21

208-03-52310

GUARD

22

01010-51225

BOLT

23

01643-31232

WASHER

24

208-03-52271

NET

25

208-03-52251

BRACKET

26

208-03-52261

BRACKET

27

208-03-52290

BRACKET

28

01434-10620

BOLT, WING,WING

29

01643-30623

WASHER

30

01010-50812

BOLT

31

01643-30823

WASHER

32

207-03-51351

SEAL

33

207-03-51361

SEAL

34

208-03-51261

SEAL

35

208-03-52330

SEAL

36

208-03-52340

SEAL

Выбрано товаров: 37