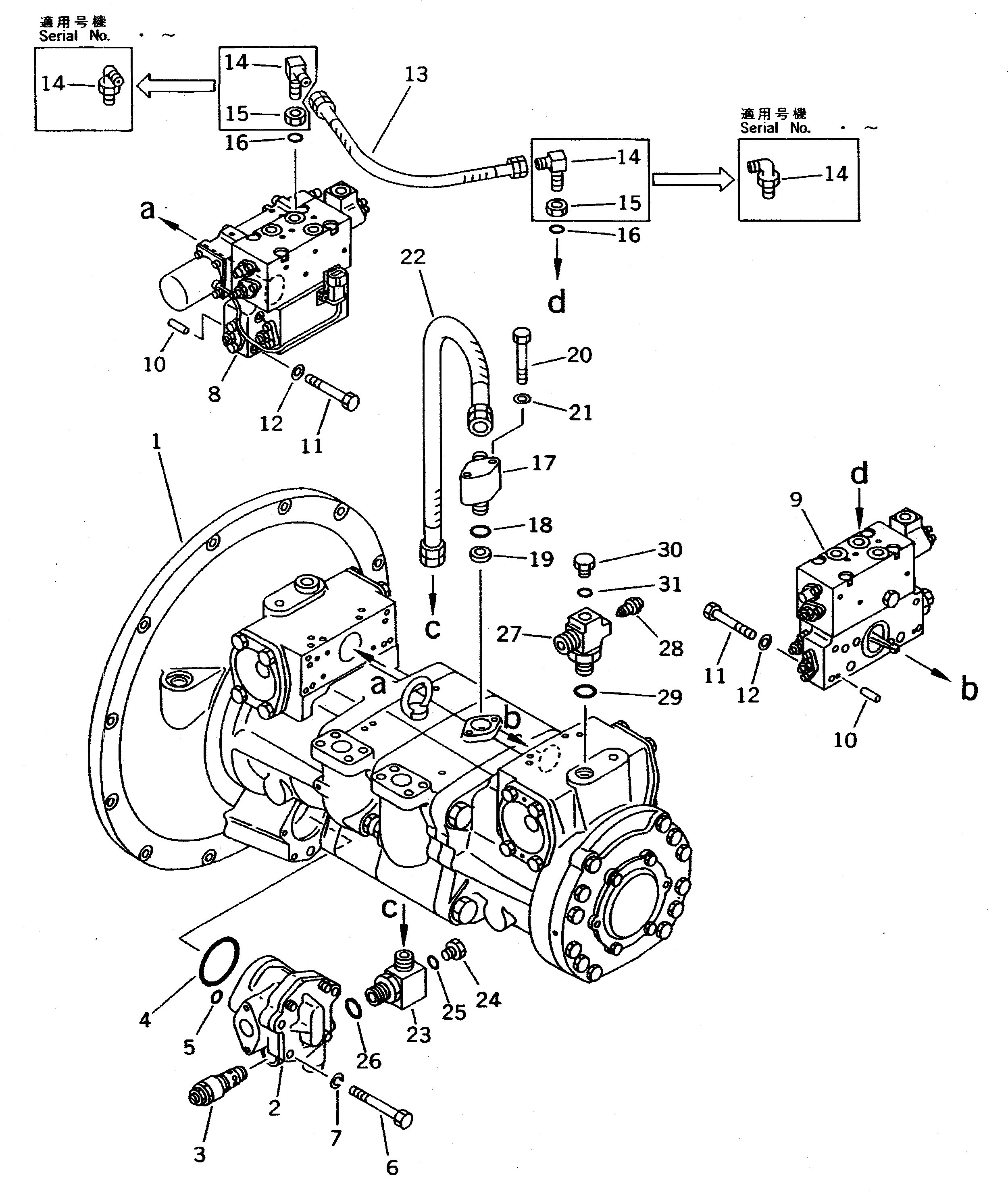
Запчасти Komatsu PC400-5C ГИДР. НАСОС. (/) (БЛОК) УПРАВЛ-Е РАБОЧИМ ОБОРУДОВАНИЕМ

Схема запчастей Komatsu PC400-5C - ГИДР. НАСОС. (/) (БЛОК) УПРАВЛ-Е РАБОЧИМ ОБОРУДОВАНИЕМ
FIT
1:1
100%

Артикул

Название

Примечание

Количество

|$0

708-27-04023

HYDRAULIC PUMP ASS'Y

|$1

708-27-04022

HYDRAULIC PUMP ASS'Y

|$2

708-27-04021

HYDRAULIC PUMP ASS'Y

1

708-27-04123

PUMP ASS'Y

1

708-27-04122

PUMP ASS'Y

1

708-27-04121

PUMP ASS'Y

2

704-23-30601

PUMP ASS'Y

3

708-27-04311

RELIEF VALVE ASS'Y

3

708-27-04310

RELIEF VALVE ASS'Y

4

07000-02075

O-RING

5

07000-02020

O-RING

6

01011-51010

BOLT

7

01602-01030

WASHER,SPRING

8

708-27-08121

SERVO VALVE ASS'Y,FRONT

9

708-27-08221

SERVO VALVE ASS'Y,REAR

10

04020-00616

PIN,DOWEL

11

708-25-19130

BOLT

12

01602-00825

WASHER,SPRING

13

07102-20203

HOSE

14

07235-10210

ELBOW

14

07232-20210

ELBOW

15

07239-11408

NUT

16

07002-01423

O-RING

17

708-27-14210

ELBOW

18

07000-02021

O-RING

19

720-68-15240

FILTER

20

01010-50855

BOLT

21

01643-30823

WASHER

22

07102-20505

HOSE

23

207-62-33710

TEE

24

07040-11409

PLUG

25

07002-01423

O-RING

26

07002-02434

O-RING

27

207-62-31770

TEE

28

20B-27-11210

BLEEDER

29

07002-02434

O-RING

30

07040-11409

PLUG

31

07002-01423

O-RING

Выбрано товаров: 38