Запчасти Komatsu PC400-5C СТРЕЛА ПРЕДОТВРАЩЕНИЕ СМЕЩЕНИЮ LESS ТРУБЫ(№-) УПРАВЛ-Е РАБОЧИМ ОБОРУДОВАНИЕМ

Схема запчастей Komatsu PC400-5C - СТРЕЛА ПРЕДОТВРАЩЕНИЕ СМЕЩЕНИЮ LESS ТРУБЫ(№-) УПРАВЛ-Е РАБОЧИМ ОБОРУДОВАНИЕМ
FIT
1:1
100%

Артикул

Название

Примечание

Количество

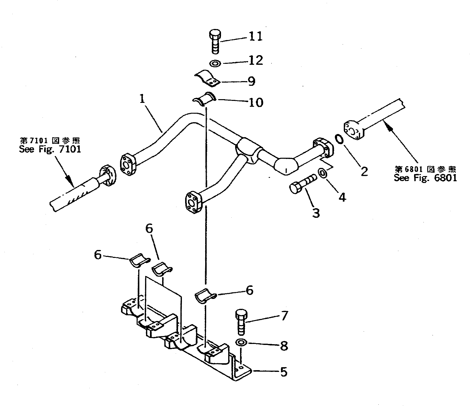
1

207-62-52910

TUBE

2

21T-09-11470

O-RING

3

07372-21040

BOLT

4

01643-51032

WASHER

5

207-62-52920

BRACKET

6

205-62-73430

SEAT

7

01010-51230

BOLT

8

01643-31232

WASHER

9

207-62-52430

CLAMP

10

205-62-73430

SEAT

11

01010-51230

BOLT

12

01643-31232

WASHER

Выбрано товаров: 12