Запчасти Komatsu PC400-5C ПОВОРОТН. КРУГ ПОВОРОТН. СИСТЕМА

Схема запчастей Komatsu PC400-5C - ПОВОРОТН. КРУГ ПОВОРОТН. СИСТЕМА
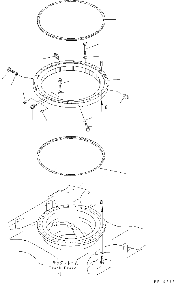
1
2
3
4
4
4
5
6
7
8
9
10
11
12
12
13
13
14
14
FIT
1:1
100%

Артикул

Название

Примечание

Количество

1

208-25-53101

CIRCLE,SWING

1

208-25-53100

CIRCLE,SWING

2

207-25-61160

SEAL,(FOR SUPPLY)

2

207-25-31120

SEAL

3

207-25-61160

SEAL,(FOR SUPPLY)

3

207-25-31130

SEAL

4

07020-00000

FITTING,GREASE

5

04020-01842

PIN,DOWEL

6

208-25-51130

BOLT

7

207-25-31170

SPACER

7

01643-32460

WASHER

8

208-25-11140

BOLT

9

207-25-31170

SPACER

10

207-25-31180

BOLT

10

208-25-51140

BOLT

11

01643-32460

WASHER

12

01010-51020

BOLT

13

01643-31032

WASHER

14

07042-70211

PLUG

Выбрано товаров: 19