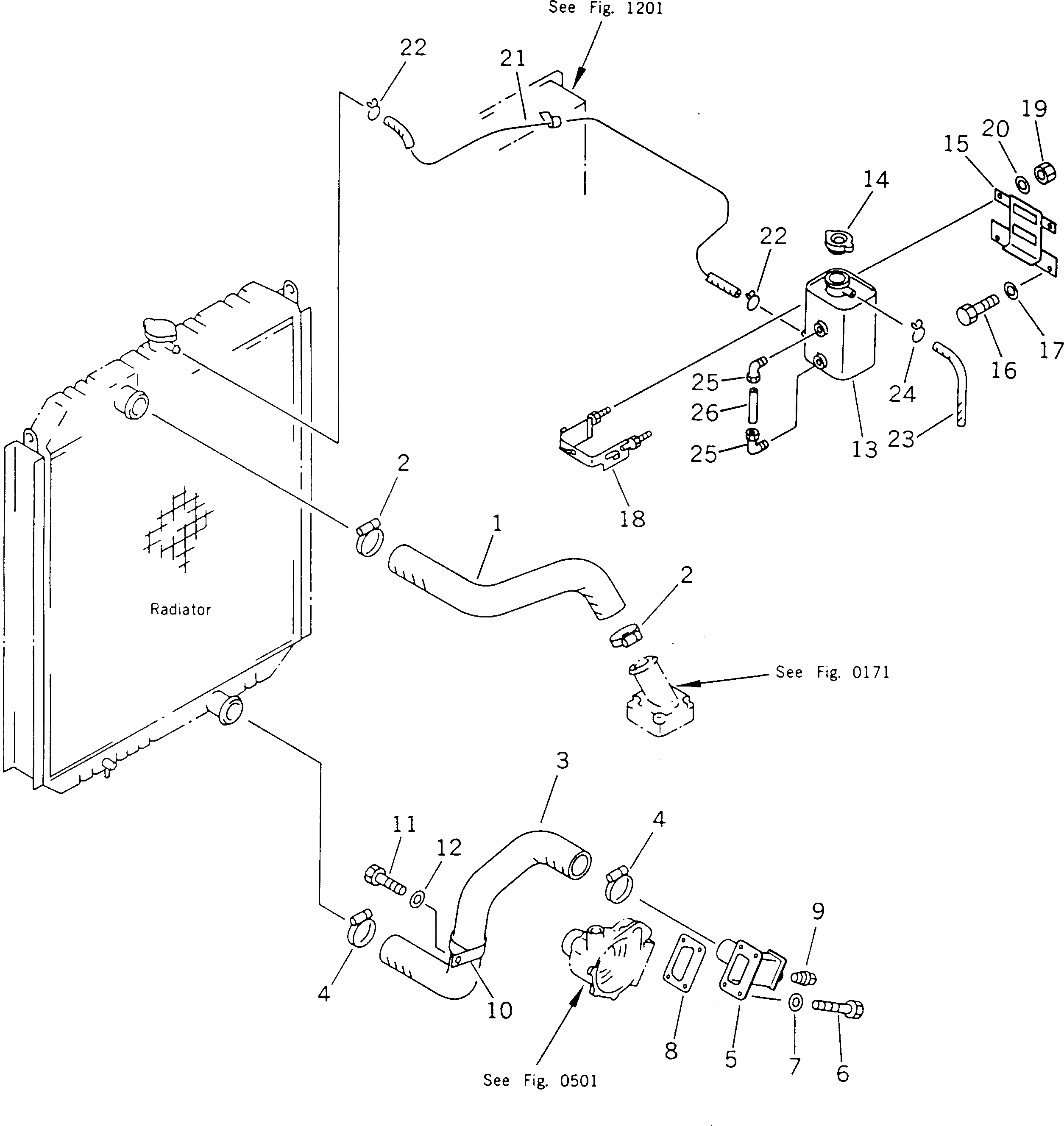
Запчасти Komatsu PC400-5D СИСТЕМА ТРУБ РАДИАТОРА КОМПОНЕНТЫ ДВИГАТЕЛЯ И ЭЛЕКТРИКА

Схема запчастей Komatsu PC400-5D - СИСТЕМА ТРУБ РАДИАТОРА КОМПОНЕНТЫ ДВИГАТЕЛЯ И ЭЛЕКТРИКА
FIT
1:1
100%

Артикул

Название

Примечание

Количество

1

208-03-52380

HOSE

2

07289-00070

CLAMP

2

208-09-11120

CLAMP

3

208-03-52390

HOSE

4

07289-00070

CLAMP

4

208-09-11120

CLAMP

5

208-03-38160

CONNECTOR

6

01010-51025

BOLT

7

01643-51032

WASHER

8

207-03-31271

GASKET

8

207-03-31270

GASKET

9

07042-30312

PLUG

10

208-03-51470

CLIP

11

01010-51230

BOLT

12

01643-31232

WASHER

13

208-03-51510

TANK

14

208-03-52410

CAP ASS'Y

15

208-03-51550

BRACKET

16

01010-51230

BOLT

17

01643-31232

WASHER

18

208-03-51330

BAND

19

01580-10806

NUT

20

01643-30823

WASHER

21

20Y-03-11270

HOSE

22

206-03-43340

CLIP

23

206-03-43331

HOSE

24

206-03-43340

CLIP

25

208-04-19130

ELBOW

26

208-03-51570

TUBE

Выбрано товаров: 29