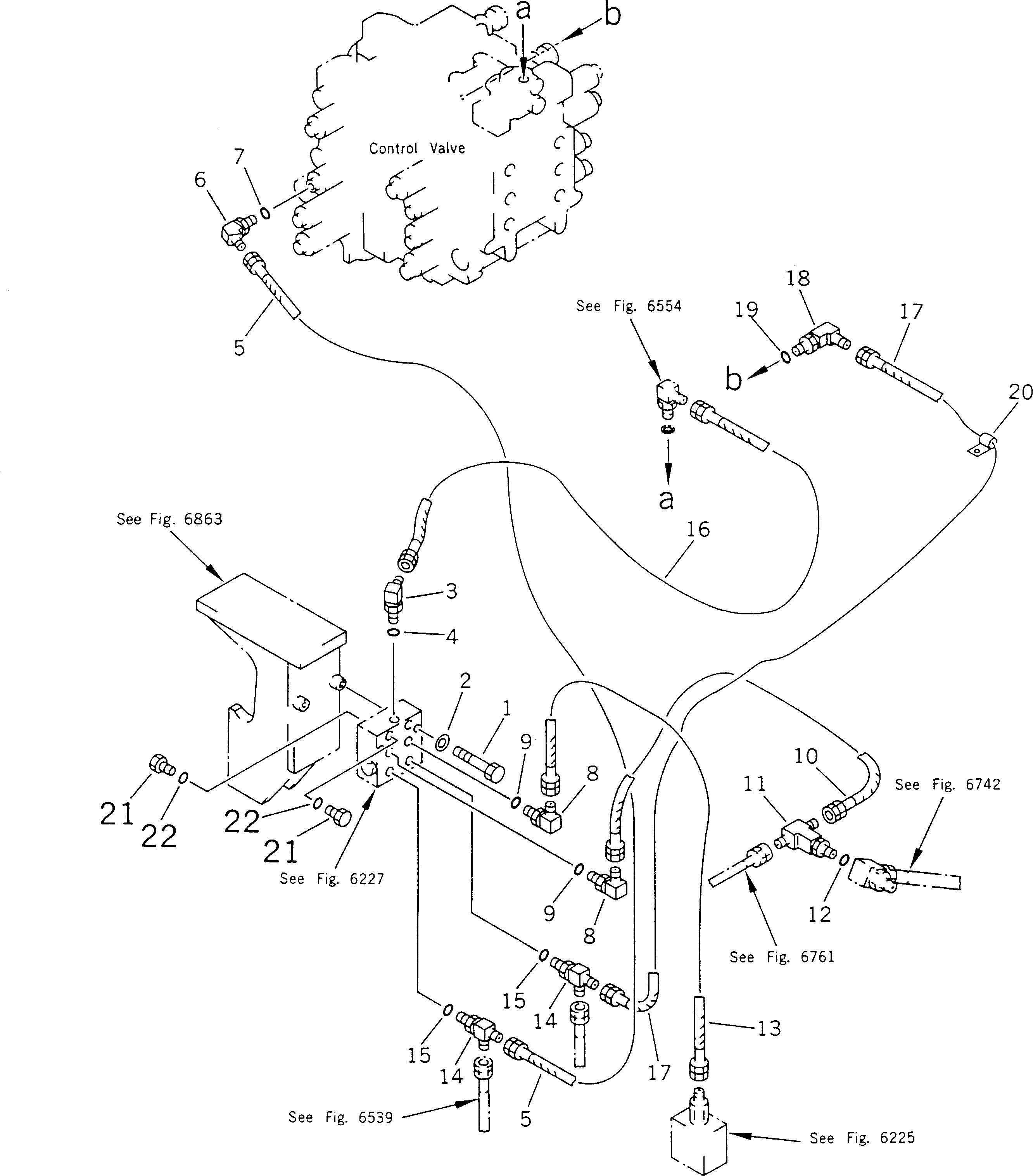
Запчасти Komatsu PC400-5D ГЛАВН. ТРУБЫ(РАСПРЕДЕЛИТ. КЛАПАН TO/FROM УПРАВЛЯЮЩ. КЛАПАН) (ДЛЯ ДОПОЛН.ТРУБЫ)(№87-) УПРАВЛ-Е РАБОЧИМ ОБОРУДОВАНИЕМ

Схема запчастей Komatsu PC400-5D - ГЛАВН. ТРУБЫ(РАСПРЕДЕЛИТ. КЛАПАН TO/FROM УПРАВЛЯЮЩ. КЛАПАН) (ДЛЯ ДОПОЛН.ТРУБЫ)(№87-) УПРАВЛ-Е РАБОЧИМ ОБОРУДОВАНИЕМ
FIT
1:1
100%

Артикул

Название

Примечание

Количество

1

01010-51065

BOLT

2

01643-31032

WASHER

3

207-62-33920

ELBOW

4

07002-41423

O-RING

5

208-970-5420

HOSE

6

20R-62-22270

ELBOW

7

07002-42034

O-RING

8

207-62-33920

ELBOW

9

07002-41423

O-RING

10

208-970-5370

HOSE

11

207-62-53790

ELBOW

12

07002-41423

O-RING

13

208-970-5430

HOSE

14

21T-62-29960

TEE

15

07002-41423

O-RING

16

208-62-52110

HOSE

17

208-970-5440

HOSE

18

20R-62-11930

ELBOW

19

07002-42034

O-RING

20

170-04-11230

CLIP

21

07040-11409

PLUG

22

07002-41423

O-RING

Выбрано товаров: 22