Запчасти Komatsu PC400-5D НАСОС - УПРАВЛЯЮЩ. КЛАПАН ТРУБЫ УПРАВЛ-Е РАБОЧИМ ОБОРУДОВАНИЕМ

Схема запчастей Komatsu PC400-5D - НАСОС - УПРАВЛЯЮЩ. КЛАПАН ТРУБЫ УПРАВЛ-Е РАБОЧИМ ОБОРУДОВАНИЕМ
FIT
1:1
100%

Артикул

Название

Примечание

Количество

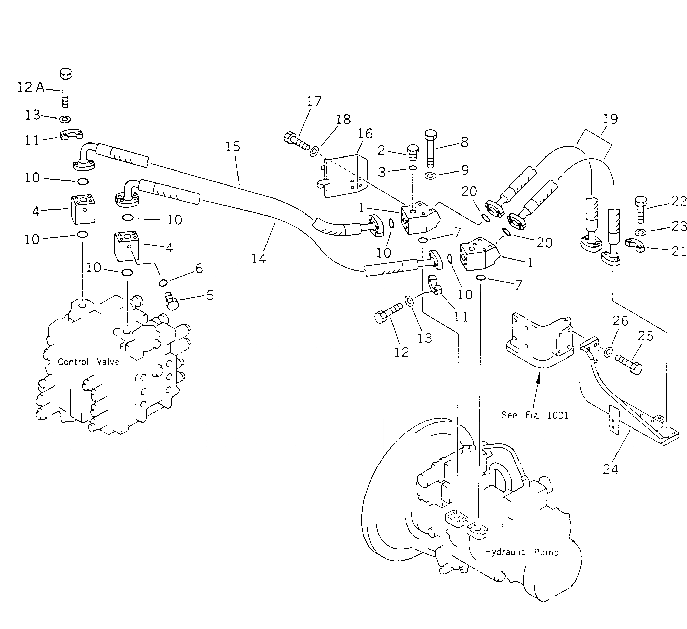
1

207-62-52880

BLOCK

2

07040-11007

PLUG

3

07002-51023

O-RING

4

207-62-52870

BLOCK

5

07040-11007

PLUG

6

07002-51023

O-RING

7

21T-09-11470

O-RING

8

01010-51085

BOLT

9

01643-31032

WASHER

10

21T-09-11460

O-RING

11

07371-31049

FLANGE,SPLIT

12

07372-21035

BOLT

12A

207-62-51420

BOLT

13

01643-51032

WASHER

14

208-62-51670

HOSE

15

208-62-51680

HOSE

16

208-62-52290

PLATE

17

01010-51020

BOLT

18

01643-31032

WASHER

19

208-62-51660

HOSE

20

21T-09-11460

O-RING

21

07371-31049

FLANGE,SPLIT

22

07372-21035

BOLT

23

01643-51032

WASHER

24

208-62-51251

BRACKET

24

208-62-51250

BRACKET

25

01010-51240

BOLT

26

01643-31232

WASHER

Выбрано товаров: 28