Запчасти Komatsu PC400-5D ROCK КОВШ¤ .M¤ 9MM (ГОРИЗОНТАЛЬН. ПАЛЕЦ) РАБОЧЕЕ ОБОРУДОВАНИЕ (ЭКСКАВАТ.)

Схема запчастей Komatsu PC400-5D - ROCK КОВШ¤ .M¤ 9MM (ГОРИЗОНТАЛЬН. ПАЛЕЦ) РАБОЧЕЕ ОБОРУДОВАНИЕ (ЭКСКАВАТ.)
FIT
1:1
100%

Артикул

Название

Примечание

Количество

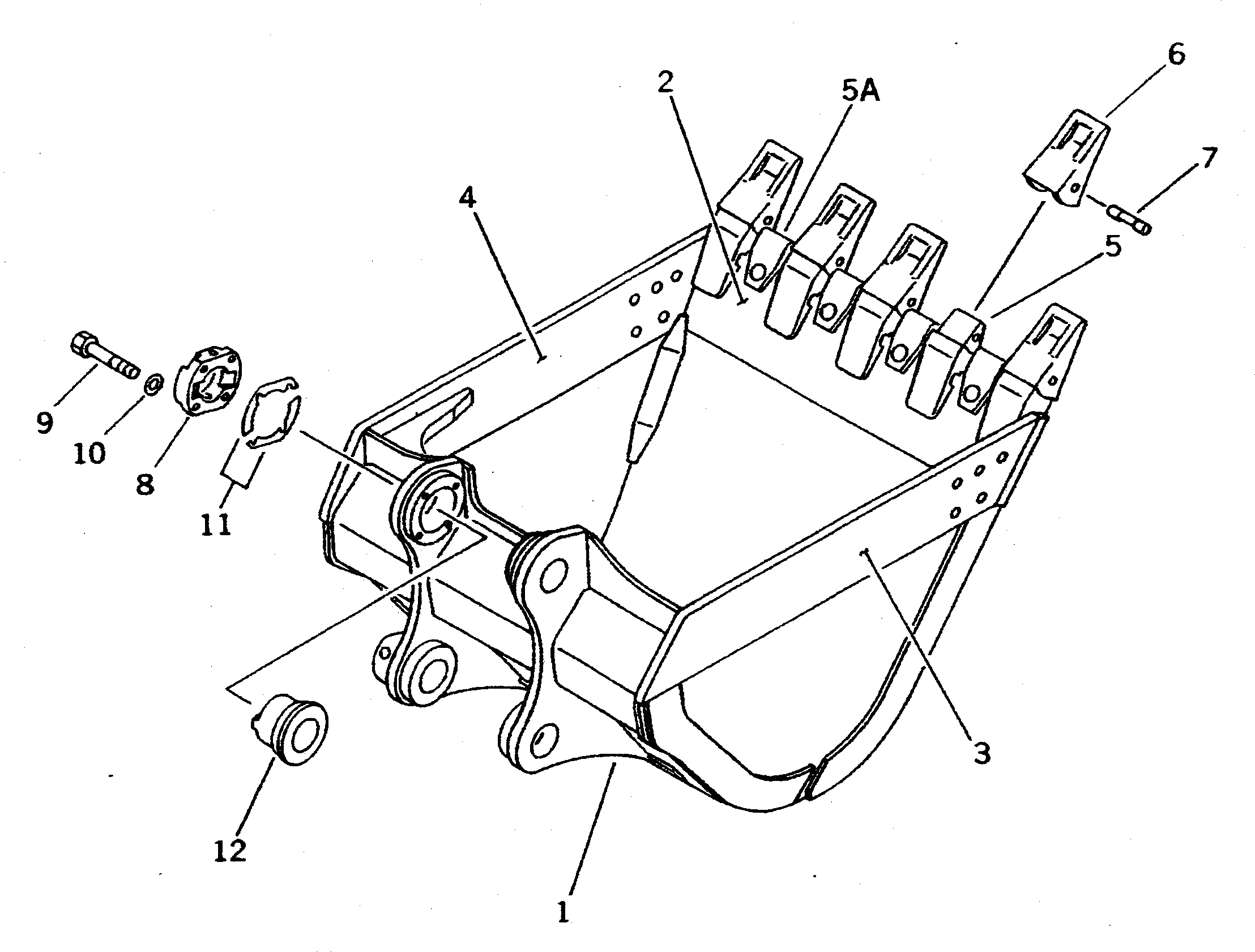
1

208-934-5110

BUCKET

2

208-934-5150

PLATE (WELDED)

3

208-934-5141

PLATE (WELDED)

4

208-934-5131

ADAPTER (WELDED)

5

208-934-5120

ADAPTER (WELDED)

5A

208-934-5170

SHROUD (WELDED)

6

208-70-14152

TOOTH

7

09244-03036

PIN

8

208-70-34240

COVER

9

01010-32470

BOLT

10

01643-32460

WASHER

11

208-70-00080

SHIM ASS'Y

11

SHIM, 0.5MM

11

SHIM, 1.0MM

12

208-70-34230

BUSHING

Выбрано товаров: 15