Запчасти Komatsu PC400-5D ПРЕДПУСК. ПОДОГРЕВ И ТРУБЫ (/) КОМПОНЕНТЫ ДВИГАТЕЛЯ И ЭЛЕКТРИКА

Схема запчастей Komatsu PC400-5D - ПРЕДПУСК. ПОДОГРЕВ И ТРУБЫ (/) КОМПОНЕНТЫ ДВИГАТЕЛЯ И ЭЛЕКТРИКА
FIT
1:1
100%

Артикул

Название

Примечание

Количество

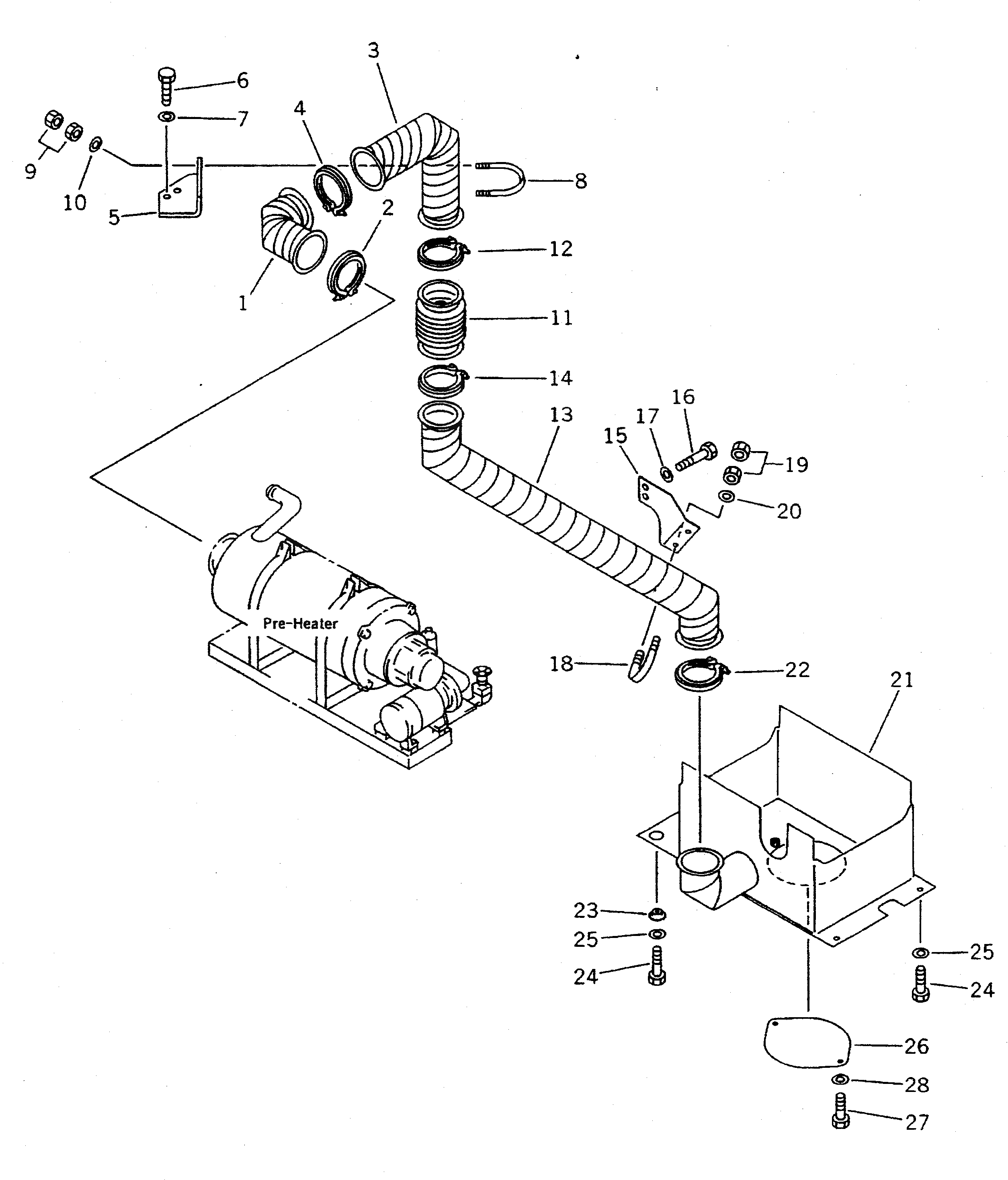
1

208-01-51161

DUCT

1

208-01-51160

DUCT

2

144-874-6510

COUPLING

3

208-01-51191

DUCT

3

208-01-51190

DUCT

4

144-874-6510

COUPLING

5

208-01-51180

PLATE

6

01010-51235

BOLT

7

20Y-54-12670

WASHER

7

01643-31232

WASHER

8

07283-21185

CLIP

8

07283-21193

CLIP

9

01582-11210

NUT

10

01643-31232

WASHER

11

144-874-5790

BELLOWS

12

144-874-6510

COUPLING

13

208-01-51231

DUCT

13

208-01-51230

DUCT

14

144-874-6510

COUPLING

15

208-01-51240

PLATE

16

01010-51230

BOLT

17

20Y-54-12670

WASHER

17

01643-31232

WASHER

18

07283-21185

CLIP

18

07283-21193

CLIP

19

01582-11210

NUT

20

01643-31232

WASHER

21

208-01-51250

COVER

22

144-874-6510

COUPLING

23

208-54-57180

COLLAR

24

01010-51225

BOLT

25

01643-31232

WASHER

26

207-54-51440

PLATE

27

01010-51225

BOLT

28

01643-31232

WASHER

Выбрано товаров: 35