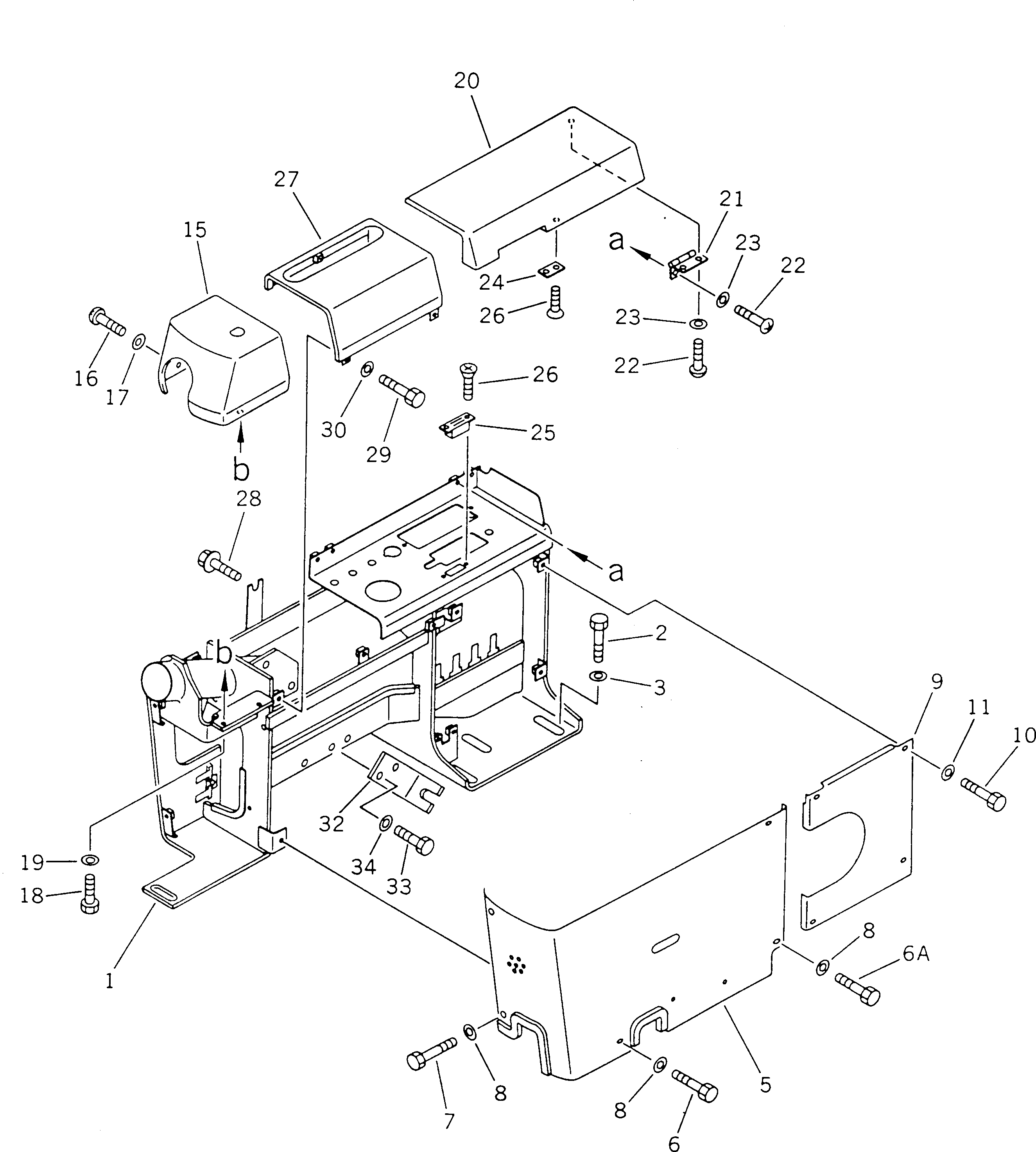
Запчасти Komatsu PC400-5D ПАНЕЛЬ СТОЙКА (ДЛЯ УДЛИНН. РЫЧАГ УПРАВЛ-Е) СИСТЕМА УПРАВЛЕНИЯ И ОСНОВНАЯ РАМА

Схема запчастей Komatsu PC400-5D - ПАНЕЛЬ СТОЙКА (ДЛЯ УДЛИНН. РЫЧАГ УПРАВЛ-Е) СИСТЕМА УПРАВЛЕНИЯ И ОСНОВНАЯ РАМА
FIT
1:1
100%

Артикул

Название

Примечание

Количество

1

208-43-51320

BRACKET

2

01010-51225

BOLT

3

20Y-54-12670

WASHER

5

20Y-977-1230

COVER

6

01010-50616

BOLT

6A

01010-50620

BOLT

7

20Y-43-15460

BOLT

8

01643-30623

WASHER

9

208-43-51380

COVER

10

01010-50620

BOLT

11

01643-30623

WASHER

15

208-43-51460

COVER

16

01220-70616

SCREW

17

01642-40608

WASHER

18

01010-50612

BOLT

19

01642-20608

WASHER

20

203-54-56531

COVER

21

20Y-06-16350

HINGE

22

01220-70510

SCREW

23

01642-40508

WASHER

24

203-54-51550

PLATE

25

203-54-51540

MAGNET

26

01224-40306

SCREW

27

20Y-43-17122

COVER

28

01435-00620

BOLT

29

01010-50620

BOLT

30

01643-30623

WASHER

32

208-43-51450

BRACKET

33

01010-51025

BOLT

34

01643-31032

WASHER

Выбрано товаров: 30