Запчасти Komatsu PC400-5D ПРЕДПУСК. ПОДОГРЕВ И ТРУБЫ (/) КОМПОНЕНТЫ ДВИГАТЕЛЯ И ЭЛЕКТРИКА

Схема запчастей Komatsu PC400-5D - ПРЕДПУСК. ПОДОГРЕВ И ТРУБЫ (/) КОМПОНЕНТЫ ДВИГАТЕЛЯ И ЭЛЕКТРИКА
FIT
1:1
100%

Артикул

Название

Примечание

Количество

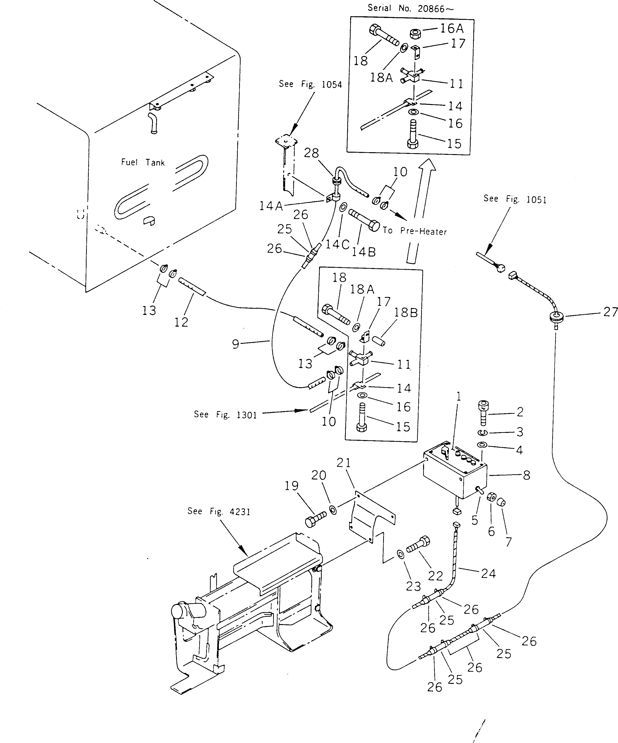
1

208-06-19371

PANEL

2

205-06-62170

BOLT

3

205-06-62180

WASHER

4

205-06-62190

WASHER

5

195-06-25250

SWITCH

6

7808-19-1920

NUT

7

205-06-64440

CAP

8

208-06-51480

BRACKET

9

07288-11016

HOSE

9

07288-10616

HOSE

10

07281-00167

CLAMP

11

208-04-38120

TEE

11

20Y-04-11280

TEE

12

07288-11005

HOSE

13

07281-00197

CLAMP

14

08036-91814

CLIP

14A

08036-91814

CLIP

14B

01010-51225

BOLT

14C

01643-31232

WASHER

15

01010-51250

BOLT

16

01643-31232

WASHER

16

01643-31232

WASHER

16A

01580-01210

NUT

17

201-54-32140

PLATE

17

21T-38-71260

BRACKET

18

01010-51225

BOLT

18

01010-51270

BOLT

18A

01643-31232

WASHER

18B

205-03-71331

COLLAR

19

01010-51020

BOLT

20

01643-31032

WASHER

21

208-06-51490

PLATE

22

01010-50830

BOLT

23

01643-30823

WASHER

24

208-06-51820

WIRING HARNESS

25

205-62-72140

COVER

26

08034-00519

BAND

27

08037-05016

GROMMET

28

08037-02512

GROMMET

Выбрано товаров: 39