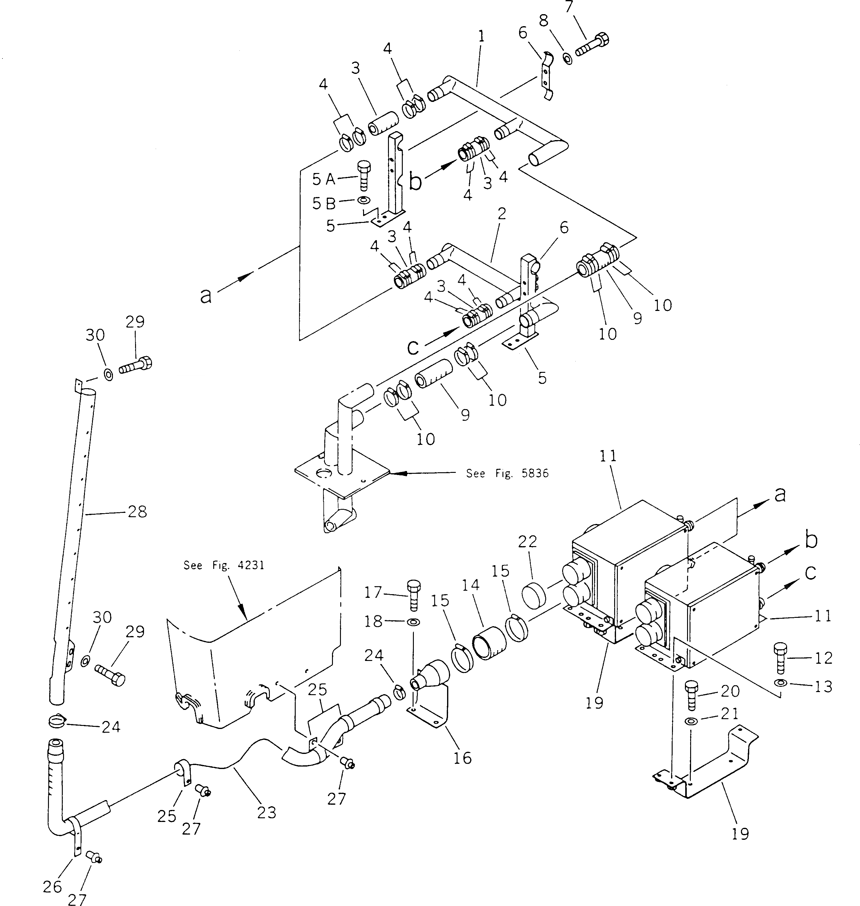
Запчасти Komatsu PC400-5D ОБОГРЕВАТЕЛЬ. ТРУБЫ (/)(№-8) ЧАСТИ КОРПУСА

Схема запчастей Komatsu PC400-5D - ОБОГРЕВАТЕЛЬ. ТРУБЫ (/)(№-8) ЧАСТИ КОРПУСА
FIT
1:1
100%

Артикул

Название

Примечание

Количество

1

208-977-5230

TUBE

2

208-977-5240

TUBE

3

07260-32611

HOSE

4

07281-00419

CLAMP

5

208-977-5270

BRACKET

5A

01010-51025

BOLT

5B

01643-31032

WASHER

6

208-977-5360

CLIP

7

01010-51025

BOLT

8

01643-31032

WASHER

9

07260-33213

HOSE

10

07281-00489

CLAMP

11

195-911-4252

HEATER ASS'Y,(SEE FIG.5831)

12

01010-51025

BOLT

13

01643-31032

WASHER

14

198-911-5290

HOSE

15

07281-00709

CLAMP

16

208-977-5310

DUCT

17

01010-51020

BOLT

18

01643-31032

WASHER

19

208-977-5280

BRACKET

20

01010-51020

BOLT

21

01643-31032

WASHER

22

205-977-7190

CAP

23

09485-03717

HOSE

24

07281-00419

CLAMP

25

113-899-7950

CLIP

26

20Y-977-1160

CLIP

27

20Y-54-13870

RIVET

28

20Y-977-1140

NOZZLE

29

01010-51020

BOLT

30

01643-31032

WASHER

Выбрано товаров: 32