Запчасти Komatsu PC400-6 КОВШ¤ .8M¤ MM (ВЕРТИКАЛЬН. ПАЛЕЦ) РАБОЧЕЕ ОБОРУДОВАНИЕ

Схема запчастей Komatsu PC400-6 - КОВШ¤ .8M¤ MM (ВЕРТИКАЛЬН. ПАЛЕЦ) РАБОЧЕЕ ОБОРУДОВАНИЕ
FIT
1:1
100%

Артикул

Название

Примечание

Количество

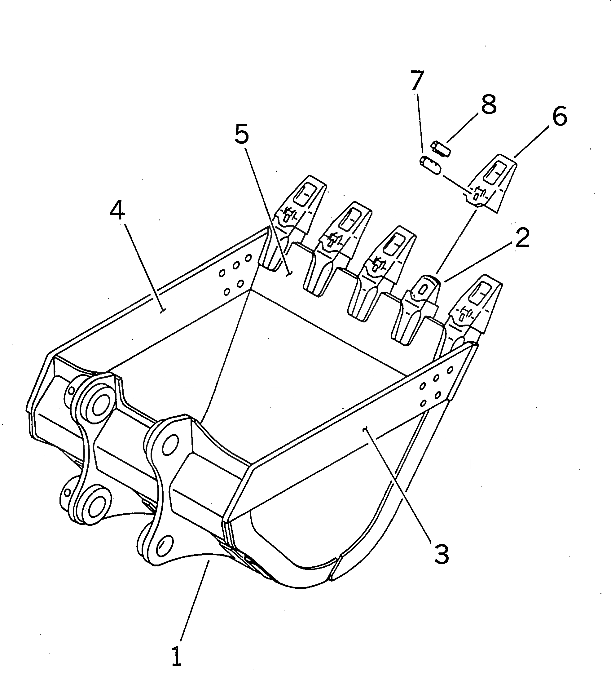
1

208-920-5510

BUCKET

2

208-70-34150

ADAPTER (WELDED)

3

208-70-54121

PLATE,L.H. (WELDED)

3

208-70-54120

PLATE,L.H. (WELDED)

4

208-70-54131

PLATE,R.H. (WELDED)

4

208-70-54130

PLATE,R.H. (WELDED)

5

208-70-54140

PLATE (WELDED)

6

208-70-34211

TOOTH

7

208-70-34220

PIN

8

208-70-34191

LOCK

Выбрано товаров: 10