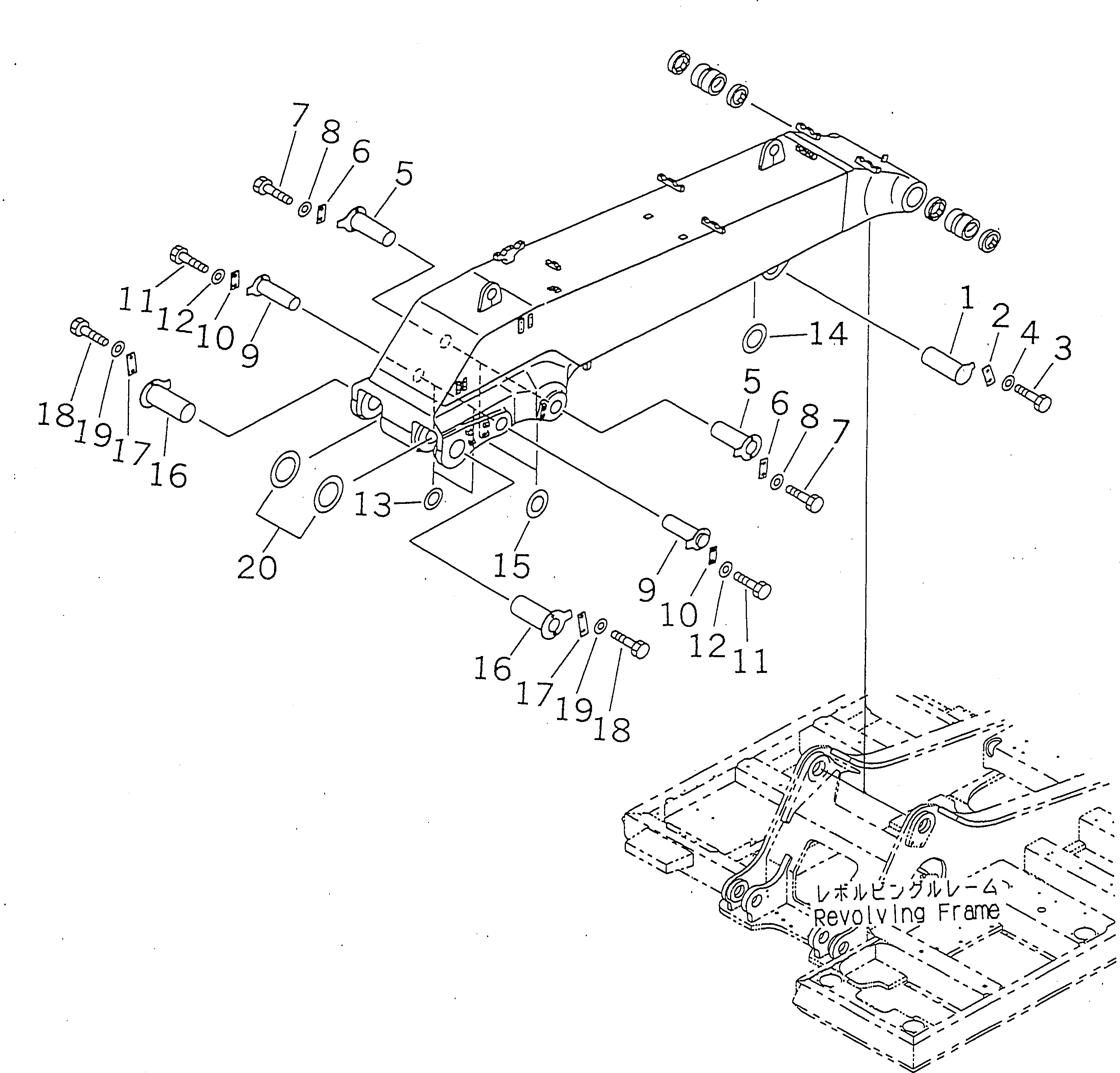
Запчасти Komatsu PC400-6 СТРЕЛА (ПАЛЕЦ) (ПОГРУЗ.) РАБОЧЕЕ ОБОРУДОВАНИЕ

Схема запчастей Komatsu PC400-6 - СТРЕЛА (ПАЛЕЦ) (ПОГРУЗ.) РАБОЧЕЕ ОБОРУДОВАНИЕ
FIT
1:1
100%

Артикул

Название

Примечание

Количество

1

208-70-31190

PIN

2

205-70-66580

PLATE

3

01010-81235

BOLT

|3

01010-51235

BOLT

4

01643-31232

WASHER

5

208-70-31210

PIN

6

205-70-66580

PLATE

7

01010-81235

BOLT

|7

01010-51235

BOLT

8

01643-31232

WASHER

9

208-72-14170

PIN

10

205-70-66580

PLATE

11

01010-81235

BOLT

|11

01010-51235

BOLT

12

01643-31232

WASHER

13

205-70-51520

SPACER¤ 1.0MM

14

207-70-11360

SPACER¤ 1.0MM

15

207-70-11340

SPACER¤ 0.8MM

16

208-72-51150

PIN

17

207-70-31230

PLATE

18

01010-81640

BOLT

|18

01010-51640

BOLT

19

01643-31645

WASHER

20

208-70-31290

SPACER¤ 0.8MM

Выбрано товаров: 24