Запчасти Komatsu PC400-6 РУКОЯТЬ (.M) (РУКОЯТЬ И ЦИЛИНДР КОВША) (С ДОПОЛН. ГИДРОЛИНИЕЙ) (ДЛЯ COMPONENT) РАБОЧЕЕ ОБОРУДОВАНИЕ

Схема запчастей Komatsu PC400-6 - РУКОЯТЬ (.M) (РУКОЯТЬ И ЦИЛИНДР КОВША) (С ДОПОЛН. ГИДРОЛИНИЕЙ) (ДЛЯ COMPONENT) РАБОЧЕЕ ОБОРУДОВАНИЕ
FIT
1:1
100%

Артикул

Название

Примечание

Количество

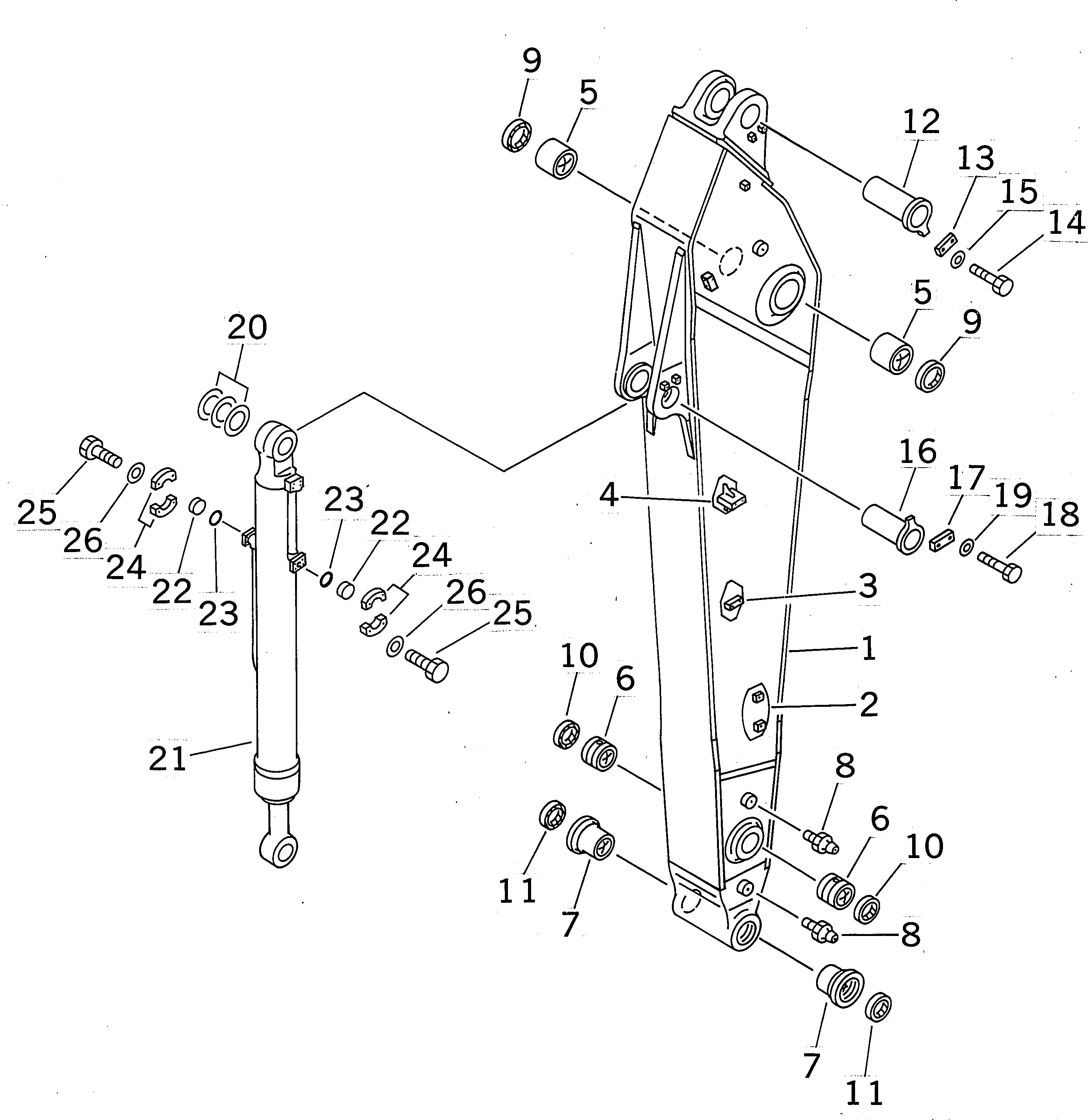
|1

208-70-62250

ARM

1

ARM

2

207-970-5380

BRACKET (WELDED)

3

207-970-5390

BRACKET (WELDED)

4

207-970-5420

BRACKET (WELDED)

5

208-70-61521

BUSHING

6

208-70-13141

BUSHING

7

208-70-32140

BUSHING

8

07020-00000

FITTING

9

07145-00120

SEAL

10

208-70-12231

SEAL,DUST

11

205-70-62160

SEAL

12

208-70-61220

PIN

13

205-70-66580

PLATE

14

01010-81235

BOLT

|14

01010-51235

BOLT

15

01643-31232

WASHER

16

208-70-61240

PIN

17

205-70-66580

PLATE

18

01010-81235

BOLT

|18

01010-51235

BOLT

19

01643-31232

WASHER

20

207-70-11340

SPACER¤ 0.8MM

21

208-63-X9040

CYLINDER GROUP,(SEE FIG.Y1620-41A0A)

|21

208-63-X2531

BUCKET CYLINDER G.,(SEE FIG.Y1620-41A0A)

|21

208-63-X2130

BUCKET CYLINDER G.,(SEE FIG.Y1620-41A0)

22

07378-11000

HEAD

23

07000-13032

O-RING

24

07371-31049

FLANGE

25

07372-21035

BOLT

26

01643-51032

WASHER

Выбрано товаров: 31