Запчасти Komatsu PC400-6 ЦИЛИНДР СТРЕЛЫ(ДЛЯ СТРЕЛЫ 4М) ОСНОВН. КОМПОНЕНТЫ И РЕМКОМПЛЕКТЫ

Схема запчастей Komatsu PC400-6 - ЦИЛИНДР СТРЕЛЫ(ДЛЯ СТРЕЛЫ 4М) ОСНОВН. КОМПОНЕНТЫ И РЕМКОМПЛЕКТЫ
FIT
1:1
100%

Артикул

Название

Примечание

Количество

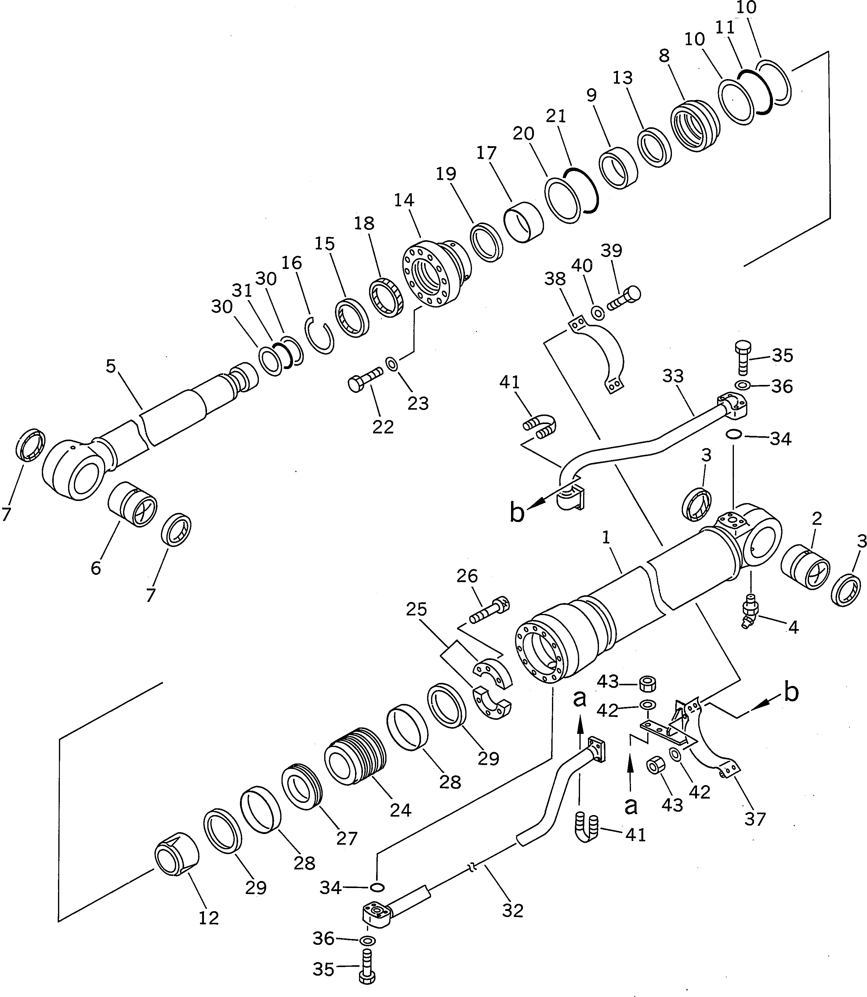
G-1

208-63-X3100

BOOM CYLINDER GROUP,L.H.

G-1

208-63-X3110

BOOM CYLINDER GROUP,R.H.

|1

208-63-03100

BOOM CYLINDER ASS'Y

1

208-63-54340

CYLINDER

2

707-76-10160

BUSHING

3

07145-00100

SEAL,DUST (KIT)

4

07020-00675

FITTING,GREASE

5

208-63-54320

ROD

6

707-76-10130

BUSHING

7

07145-00100

SEAL,DUST (KIT)

8

707-71-31131

COLLAR

9

707-71-31181

COLLAR

10

07001-05155

RING,BACK-UP (KIT)

11

07000-15155

O-RING (KIT)

12

707-71-61100

PLUNGER

13

707-71-11150

RING

14

707-27-16620

HEAD

15

198-63-94170

SEAL,DUST (KIT)

16

07179-13126

RING,SNAP

17

707-52-90860

BUSHING

18

707-51-11030

PACKING,ROD (KIT)

19

707-51-11630

RING,BUFFER (KIT)

20

07001-05155

RING,BACK-UP (KIT)

21

07000-15155

O-RING (KIT)

22

01010-82085

BOLT

23

707-88-75310

WASHER

24

707-36-16320

PISTON

25

707-40-16870

SPACER

26

01252-31450

BOLT

27

707-44-16180

RING,PISTON (KIT)

28

707-39-16820

RING,WEAR (KIT)

29

707-44-16910

RING

30

707-35-52930

RING,BACK-UP (KIT)

31

07000-12090

O-RING (KIT)

32

208-63-54370

TUBE,L.H.

|32

208-63-54470

TUBE,R.H.

33

208-63-54380

TUBE,L.H.

|33

208-63-54480

TUBE,R.H.

34

07000-13035

O-RING (KIT)

35

01010-51060

BOLT

36

01643-51032

WASHER

37

208-63-54390

BRACKET,L.H.

|37

208-63-54490

BRACKET,R.H.

38

707-88-95770

BAND

39

01010-51240

BOLT

40

01643-51232

WASHER

41

07283-23442

CLIP

42

01643-31032

WASHER

43

01599-01011

NUT

|K

707-99-67120

SERVICE KIT

Выбрано товаров: 50