Запчасти Komatsu PC400-6 КАБИНА (ПЕРЕДН. ОКНА)(№-999) КАБИНА ОПЕРАТОРА И СИСТЕМА УПРАВЛЕНИЯ

Схема запчастей Komatsu PC400-6 - КАБИНА (ПЕРЕДН. ОКНА)(№-999) КАБИНА ОПЕРАТОРА И СИСТЕМА УПРАВЛЕНИЯ
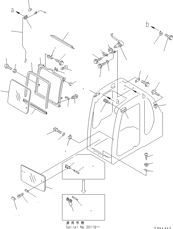
1
2
3
4
5
6
7
8
9
10
11
12
13
14
15
16
17
18
19
20
21
22
23
24
25
26
27
28
29
30
31
32
33
34
35
35
36
36
37
38
38
39
40
41
42
43
44
45
45
46
46
FIT
1:1
100%

Артикул

Название

Примечание

Количество

|$14

20Y-54-36704

FRONT WINDOW ASS'Y

|$15

20Y-54-36703

FRONT WINDOW ASS'Y

|$16

20Y-54-36702

FRONT WINDOW ASS'Y

1

20Y-54-36713

WINDOW

1

20Y-54-36712

WINDOW

2

20Y-54-38122

GLASS Z050001A0

3

20Y-54-38132

WEATHER STRIP

4

20Y-54-38143

SEAL

4

20Y-54-38142

SEAL

5

20Y-54-38152

SEAL

6

20Y-54-43130

LATCH ASS'Y,LH

6

20T-54-75270

LATCH ASS'Y,LH

7

20Y-54-43140

LATCH ASS'Y,RH

7

20T-54-75280

LATCH ASS'Y,RH

8

01435-30816

BOLT

9

20Y-54-14290

STOPPER

10

01580-11008

NUT

11

20Y-54-14590

HANDLE

12

01023-10616

SCREW

13

20Y-54-14310

STRIKER

14

20Y-54-14280

SCREW

15

20Y-54-37810

STOPPER

16

01023-70416

SCREW

17

20Y-54-37820

STOPPER

18

01023-70416

SCREW

19

20Y-54-36835

BLOCK,LH

19

20Y-54-36834

BLOCK,LH

19

20Y-54-36833

BLOCK,LH

20

20Y-54-36845

BLOCK,RH

20

20Y-54-36844

BLOCK,RH

20

20Y-54-36843

BLOCK,RH

21

01252-50635

BOLT

22

01641-50608

WASHER

23

20Y-54-39152

ROLLER

23

20Y-54-39151

ROLLER

24

205-54-63310

LOCK ASS'Y

25

01435-30820

BOLT

26

20Y-54-39363

BRACKET

27

01435-30820

BOLT

28

154-61-16570

WASHER

29

08074-40000

SWITCH

30

20Y-54-39590

WIRING HARNESS

31

20Y-54-36150

GROMMET

32

08051-00801

CLIP

33

20Y-54-14721

LOCK

34

01435-30820

BOLT

|$61

20Y-54-36103

LOWER WINDOW ASS'Y

35

20Y-54-36122

LATCH ASS'Y,R.H.

36

20Y-54-36132

LATCH ASS'Y,L.H.

37

20Y-54-36142

PLATE

38

08037-01610

GROMMET

38

20Y-54-36191

GROMMET

39

01225-70612

SCREW

40

20Y-54-36211

COVER

41

20Y-54-36113

GLASS Z050001A0

42

20Y-54-36171

SEAT

43

20Y-54-36230

SHIM, 2.0MM

44

01370-00620

SCREW

45

20Y-54-36182

STOPPER

46

01435-30820

BOLT

Выбрано товаров: 60