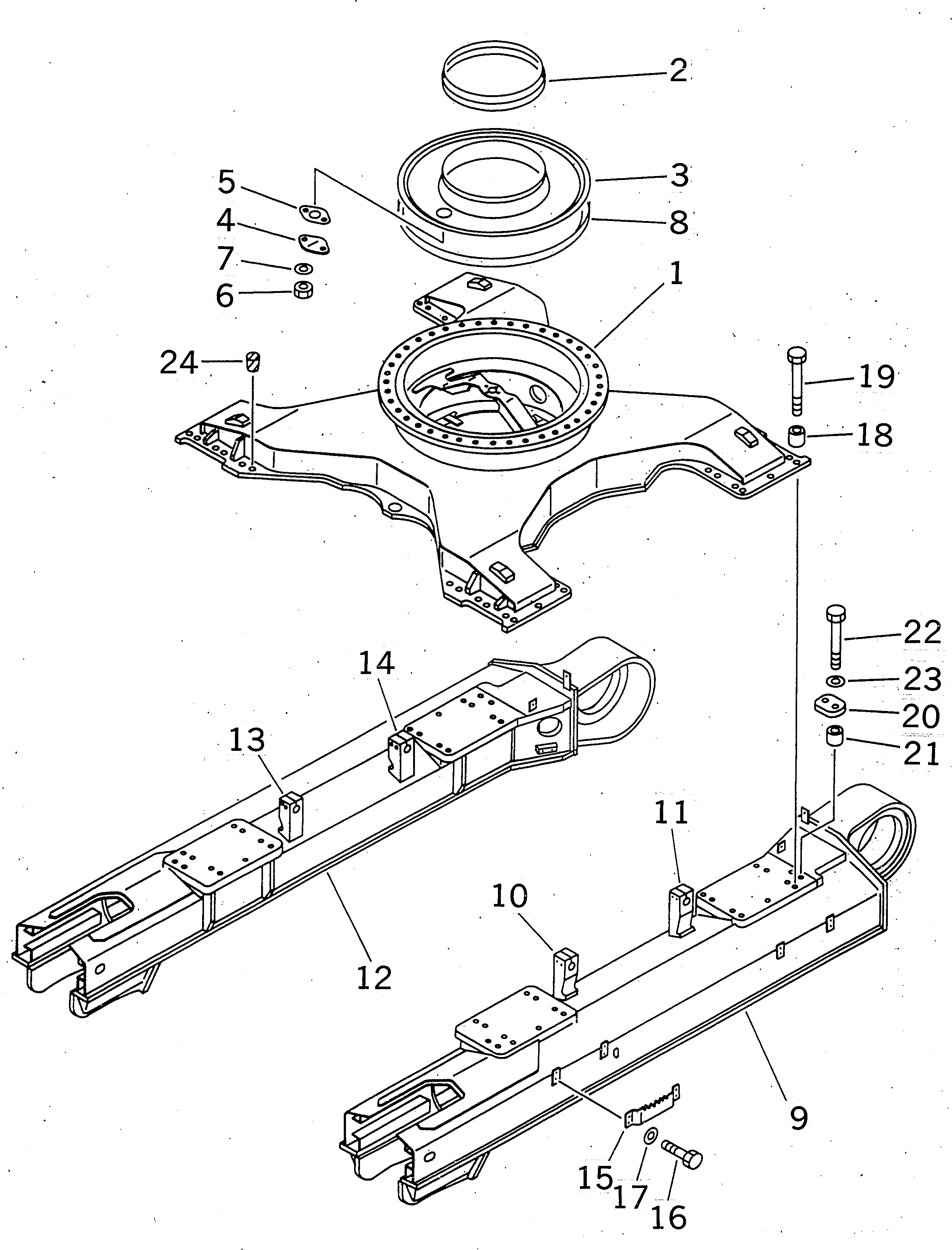
Запчасти Komatsu PC400-6 ГУСЕНИЧНАЯ РАМА (РЕГУЛЯТОР) (С КРЫШКОЙ)(№-999) ХОДОВАЯ

Схема запчастей Komatsu PC400-6 - ГУСЕНИЧНАЯ РАМА (РЕГУЛЯТОР) (С КРЫШКОЙ)(№-999) ХОДОВАЯ
FIT
1:1
100%

Артикул

Название

Примечание

Количество

1

208-30-65250

FRAME,CENTER

2

205-30-71171

SEAL

3

208-30-61220

COVER

4

205-30-71181

COVER

5

205-30-71191

GASKET

6

01580-11008

NUT

7

01643-31032

WASHER

8

207-30-51260

SEAL

9

208-30-65141

FRAME

9

208-30-65140

FRAME,L.H.

10

208-30-61E70

PLATE (WELDED)

11

208-30-61E60

PLATE (WELDED)

12

208-30-65151

FRAME

12

208-30-65150

FRAME,R.H.

13

208-30-61E60

PLATE (WELDED)

14

208-30-61E70

PLATE (WELDED)

15

208-30-61260

BRACKET

16

01010-51640

BOLT

17

01643-31645

WASHER

18

196-50-11220

SPACER

18

208-30-11971

SPACER

19

208-30-12130

BOLT

20

208-30-12160

PLATE

21

208-30-31650

COLLAR

22

01011-63030

BOLT

23

01643-33080

WASHER

24

07049-03949

PLUG

Выбрано товаров: 27