Запчасти Komatsu PC400-6C ДОПОЛН. РАБОЧ. ОСВЕЩЕНИЕ(№9-) ЭЛЕКТРИКА

Схема запчастей Komatsu PC400-6C - ДОПОЛН. РАБОЧ. ОСВЕЩЕНИЕ(№9-) ЭЛЕКТРИКА
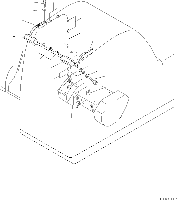
1
1
2
3
4
5
6
7
7A
8
9
9
9
10
10
10
11
FIT
1:1
100%

Артикул

Название

Примечание

Количество

1

20Y-06-25310

WORKING LAMP ASS'Y

1

20Y-06-21480

WORKING LAMP ASS'Y

1

421-06-23330

BULB, 70W,24V

2

203-06-61810

BRACKET

3

01010-80855

BOLT

4

01643-30823

WASHER

5

208-06-61290

WIRING HARNESS

6

01010-80612

BOLT

7

01643-30623

WASHER

7A

01643-31032

WASHER

8

08034-20414

BAND

9

08051-00801

CLIP

10

20Y-54-13440

CLIP

11

569-06-61960

RELAY

Выбрано товаров: 14