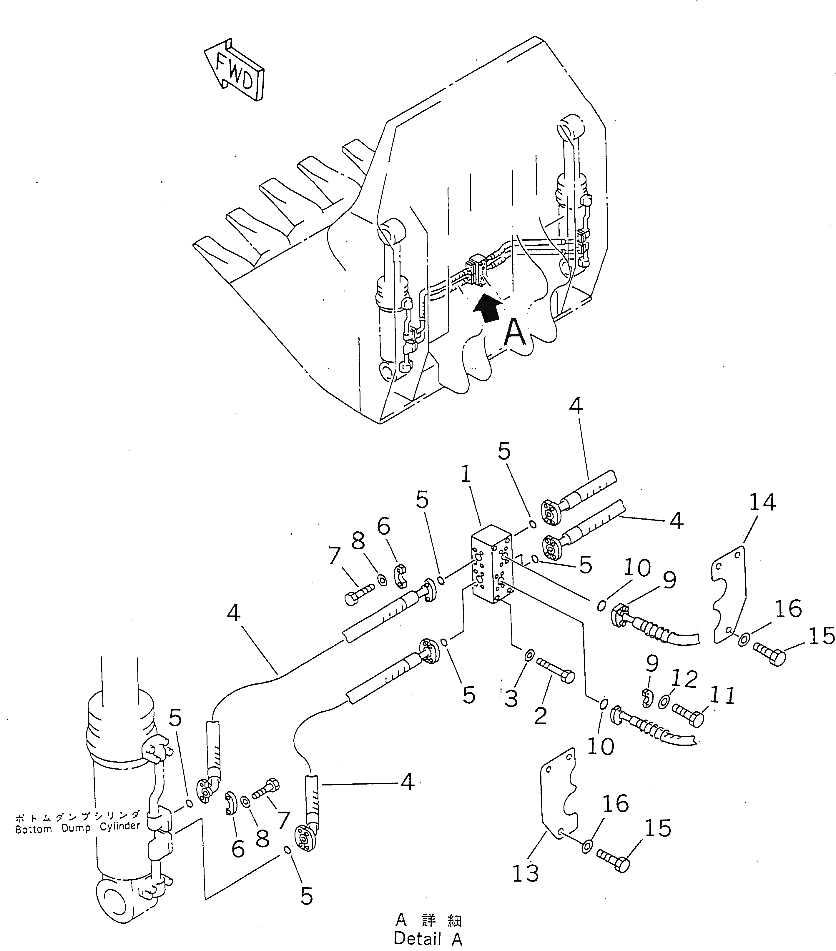
Запчасти Komatsu PC400-6Z НИЖН. ЛИНИЯ ЦИЛИНДРА КОВША (ПОГРУЗ.) РАБОЧЕЕ ОБОРУДОВАНИЕ

Схема запчастей Komatsu PC400-6Z - НИЖН. ЛИНИЯ ЦИЛИНДРА КОВША (ПОГРУЗ.) РАБОЧЕЕ ОБОРУДОВАНИЕ
FIT
1:1
100%

Артикул

Название

Примечание

Количество

1

208-72-56280

BLOCK

2

01011-81205

BOLT

2

01011-51205

BOLT

3

01643-31232

WASHER

4

208-72-56650

HOSE

5

07000-13025

O-RING

6

07371-30640

FLANGE

7

07372-21035

BOLT

8

01643-51032

WASHER

9

07371-30640

FLANGE

10

07000-13025

O-RING

11

07372-21035

BOLT

12

01643-51032

WASHER

13

208-72-54160

COVER

14

208-72-54170

COVER

15

21N-30-11340

COLLAR

16

01010-81230

BOLT

16

01010-51230

BOLT

Выбрано товаров: 0