Запчасти Komatsu PC400-6Z ПРЕДПУСКОВ. ПОДОГРЕВ (Э/ПРОВОДКА) (МОРОЗОУСТОЙЧИВ. СПЕЦИФ-Я)(№97-) РАЗНОЕ

Схема запчастей Komatsu PC400-6Z - ПРЕДПУСКОВ. ПОДОГРЕВ (Э/ПРОВОДКА) (МОРОЗОУСТОЙЧИВ. СПЕЦИФ-Я)(№97-) РАЗНОЕ
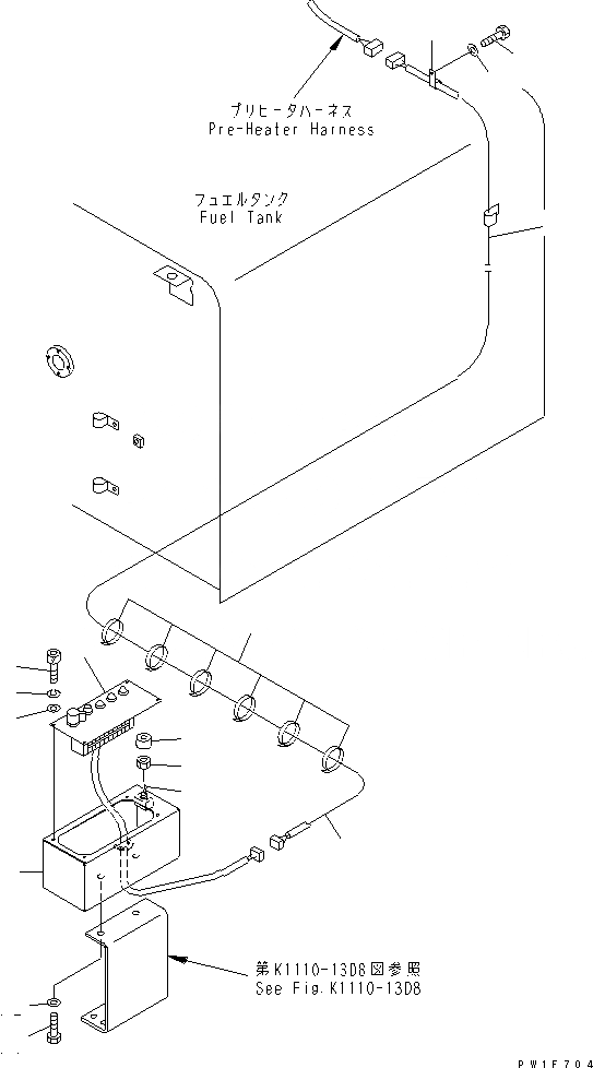
1
1
2
3
4
5
6
7
8
9
10
11
12
13
14
15
FIT
1:1
100%

Артикул

Название

Примечание

Количество

1

208-06-61740

WIRING HARNESS

2

08034-00519

BAND

3

208-06-19371

PANEL

4

205-06-62170

BOLT

5

205-06-62180

WASHER

6

205-06-62190

WASHER

7

195-06-25250

SWITCH

8

7808-19-1920

NUT

9

205-06-64440

CAP

10

208-977-6420

COVER

11

01010-81020

BOLT

12

01643-31032

WASHER

13

04434-51312

CLIP

14

01010-81225

BOLT

15

01643-31232

WASHER

Выбрано товаров: 15