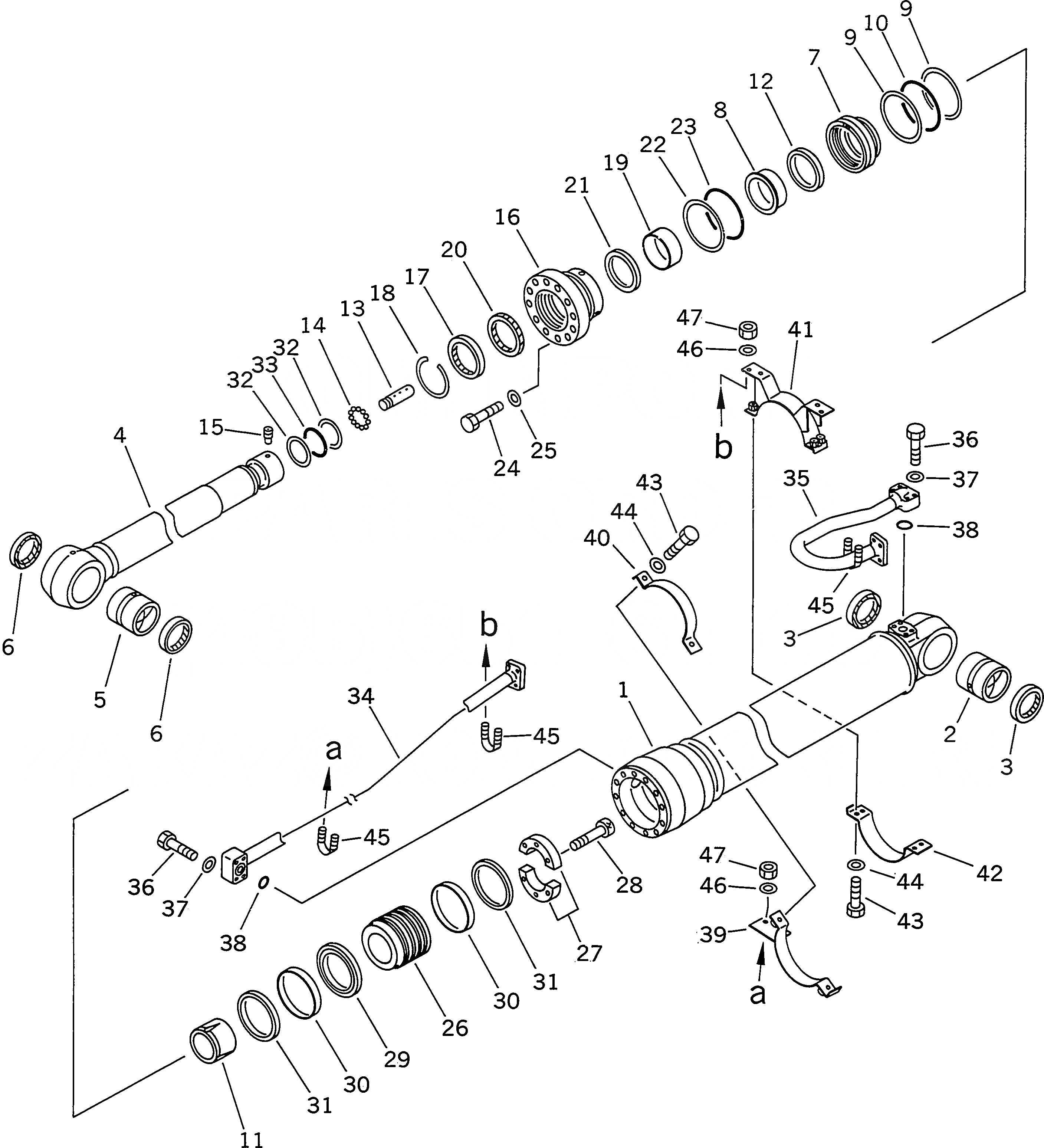
Запчасти Komatsu PC400-6Z ЦИЛИНДР РУКОЯТИ(ДЛЯ УСИЛ. СТРЕЛЫ)(№-999) ОСНОВН. КОМПОНЕНТЫ И РЕМКОМПЛЕКТЫ

Схема запчастей Komatsu PC400-6Z - ЦИЛИНДР РУКОЯТИ(ДЛЯ УСИЛ. СТРЕЛЫ)(№-999) ОСНОВН. КОМПОНЕНТЫ И РЕМКОМПЛЕКТЫ
FIT
1:1
100%

Артикул

Название

Примечание

Количество

G-1

208-63-X2341

ARM CYLINDER GROUP

|1

208-63-02341

ARM CYLINDER ASS'Y

1

208-63-63541

CYLINDER

2

707-76-11130

BUSHING

3

07145-00110

SEAL,DUST (KIT)

4

208-63-63520

ROD

5

707-76-11130

BUSHING

6

07145-00110

SEAL,DUST (KIT)

7

707-71-31560

COLLAR

8

707-71-31480

COLLAR

9

07001-05180

RING,BACK-UP (KIT)

10

07000-15180

O-RING (KIT)

11

707-71-61400

PLUNGER

12

707-71-11400

RING

13

707-71-60300

PLUNGER

14

04260-00952

BALL

15

707-71-91040

SCREW

16

707-27-18670

HEAD

17

707-56-13520

SEAL,DUST (KIT)

18

07179-14146

RING,SNAP

19

707-52-91050

BUSHING

20

707-51-13030

PACKING,ROD (KIT)

21

707-51-13630

RING,BUFFER (KIT)

22

07001-05180

RING,BACK-UP (KIT)

23

07000-15180

O-RING (KIT)

24

01011-82400

BOLT

25

707-88-75410

WASHER

26

707-36-18510

PISTON

27

707-40-18880

SPACER

28

01252-31455

BOLT

29

707-44-18280

RING,PISTON (KIT)

30

707-39-18830

RING,WEAR (KIT)

31

707-44-18920

RING

32

707-35-52951

RING,BACK-UP (KIT)

33

07000-12110

O-RING (KIT)

34

208-63-63571

TUBE

35

207-63-63180

TUBE

36

01010-51060

BOLT

37

01643-51032

WASHER

38

07000-13035

O-RING (KIT)

39

707-88-95811

BRACKET

40

707-88-95800

BAND

41

707-88-95831

BRACKET

42

707-88-95820

BAND

43

01010-51240

BOLT

44

01643-51232

WASHER

45

07283-23442

CLIP

46

01643-31032

WASHER

47

01599-01011

NUT

|K

707-99-69500

SERVICE KIT

Выбрано товаров: 50