Запчасти Komatsu PC400-6Z ЦИЛИНДР РУКОЯТИ(ДЛЯ СТРЕЛЫ 4М) ОСНОВН. КОМПОНЕНТЫ И РЕМКОМПЛЕКТЫ

Схема запчастей Komatsu PC400-6Z - ЦИЛИНДР РУКОЯТИ(ДЛЯ СТРЕЛЫ 4М) ОСНОВН. КОМПОНЕНТЫ И РЕМКОМПЛЕКТЫ
FIT
1:1
100%

Артикул

Название

Примечание

Количество

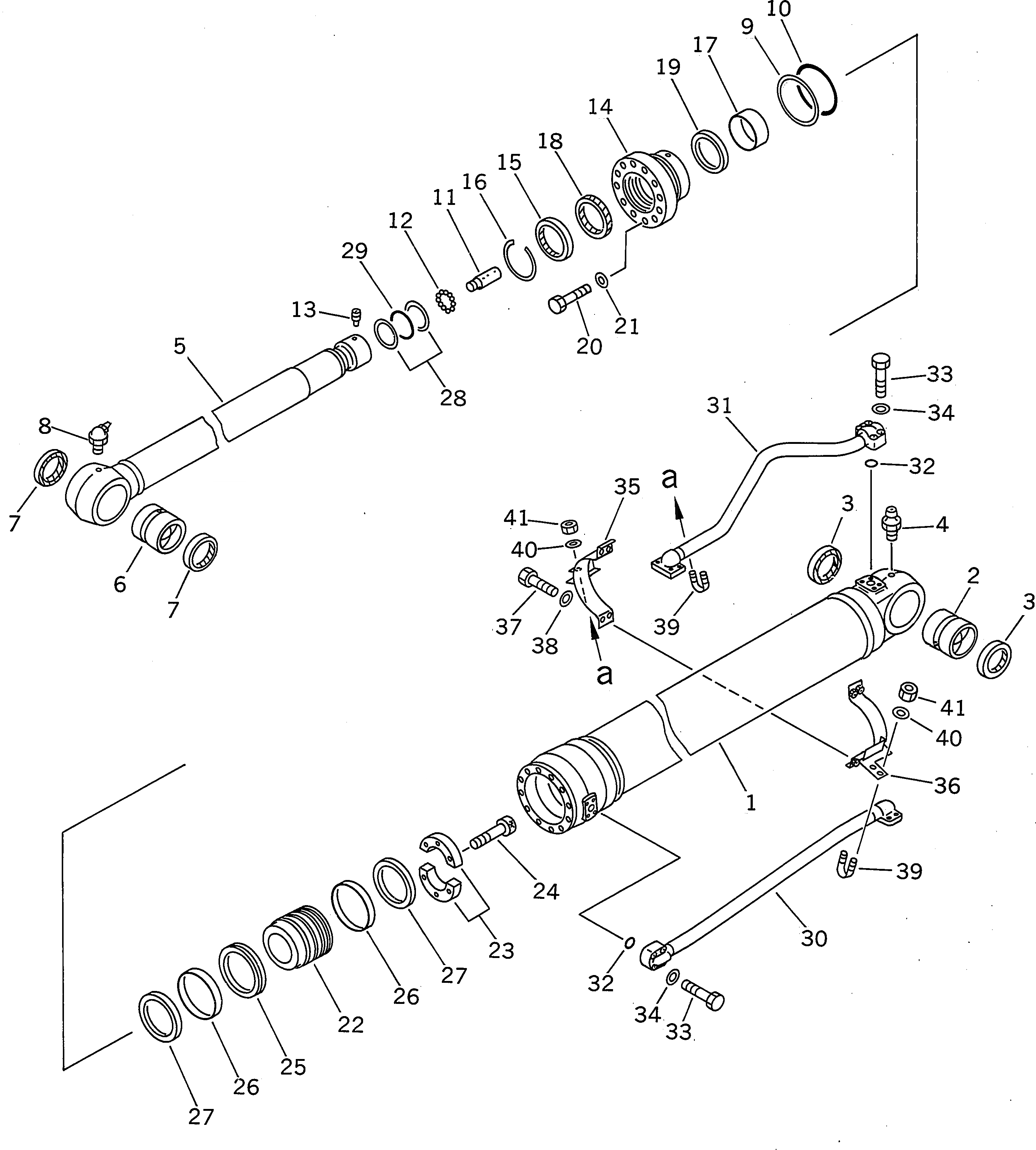
G-1

208-63-X3120

ARM CYLINDER GROUP

|1

208-63-03120

ARM CYLINDER ASS'Y

1

208-63-64340

CYLINDER

2

707-76-11130

BUSHING

3

07145-00110

SEAL,DUST (KIT)

4

07020-00000

FITTING,GREASE

5

208-63-64320

ROD

6

707-76-11130

BUSHING

7

07145-00110

SEAL,DUST (KIT)

8

07020-00675

FITTING,GREASE

9

07001-05180

RING,BACK-UP (KIT)

10

07000-15180

O-RING (KIT)

11

707-71-60310

PLUNGER

12

04260-01270

BALL

13

707-71-91050

SCREW

14

707-27-18660

HEAD

15

195-63-93170

SEAL,DUST (KIT)

16

07179-13136

RING,SNAP

17

707-52-90950

BUSHING

18

707-51-12030

PACKING,ROD (KIT)

19

707-51-12630

RING,BUFFER (KIT)

20

01011-82400

BOLT

21

707-88-75410

WASHER

22

707-36-18500

PISTON

23

707-40-18870

SPACER

24

01252-31455

BOLT

25

707-44-18280

RING,PISTON (KIT)

26

707-39-18830

RING,WEAR (KIT)

27

707-44-18920

RING

28

707-35-52940

RING,BACK-UP (KIT)

29

07000-12100

O-RING (KIT)

30

208-63-64370

TUBE

31

207-63-64380

TUBE

32

07000-13035

O-RING (KIT)

33

01010-51060

BOLT

34

01643-51032

WASHER

35

208-63-64390

BRACKET

36

208-63-64400

BRACKET

37

01010-51240

BOLT

38

01643-51232

WASHER

39

07283-23442

CLIP

40

01643-31032

WASHER

41

01599-01011

NUT

|K

707-99-68510

SERVICE KIT

Выбрано товаров: 44