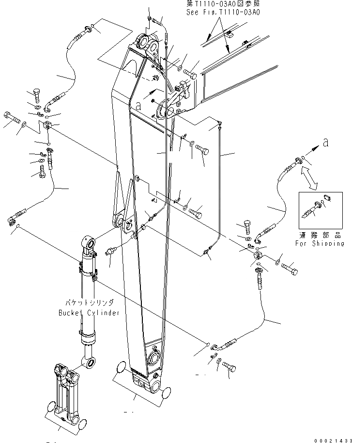
Запчасти Komatsu PC400-7-M1 РУКОЯТЬ (.8M) (ПАТРУБКИ ЦИЛИНДРА КОВША И СИСТЕМА СМАЗКИ) РАБОЧЕЕ ОБОРУДОВАНИЕ

Схема запчастей Komatsu PC400-7-M1 - РУКОЯТЬ (.8M) (ПАТРУБКИ ЦИЛИНДРА КОВША И СИСТЕМА СМАЗКИ) РАБОЧЕЕ ОБОРУДОВАНИЕ
1
1
1
2
2
2
2
2
3
3
4
4
5
5
6
7
7
8
9
10
11
12
13
14
15
16
17
17
18
18
19
19
20
20
21
21
22
22
23
23
24
24
25
25
26
26
27
27
27
27
28
29
FIT
1:1
100%

Артикул

Название

Примечание

Количество

1

207-62-54680

HOSE

2

07000-13032

O-RING

3

07371-31049

FLANGE

4

07372-21035

BOLT

5

01643-51032

WASHER

6

07379-01044

FLANGE

7

20Y-70-11540

CONNECTOR

8

07020-00000

FITTING

9

208-943-6140

TUBE

10

208-943-6150

TUBE

11

20Y-25-11270

ELBOW

12

04434-50812

CLIP

13

01010-81220

BOLT

14

01643-31232

WASHER

15

208-70-65770

HOSE¤ 540MM

16

205-70-51380

ELBOW

17

21K-70-11310

CLIP

18

01010-80612

BOLT

19

01643-30623

WASHER

20

208-943-3130

FLANGE

21

01010-81290

BOLT

22

01643-31232

WASHER

23

208-943-5120

HOSE

24

07371-31049

FLANGE

25

07372-21035

BOLT

26

01643-51032

WASHER

27

07000-13032

O-RING

28

208-70-33181

O-RING

29

207-70-33181

O-RING

Выбрано товаров: 29