Запчасти Komatsu PC400-7 СОЛЕНОИДНЫЙ КЛАПАН ТРУБЫ (СОЛЕНОИДНЫЙ КЛАПАН) ( АКТУАТОР) ГИДРАВЛИКА

Схема запчастей Komatsu PC400-7 - СОЛЕНОИДНЫЙ КЛАПАН ТРУБЫ (СОЛЕНОИДНЫЙ КЛАПАН) ( АКТУАТОР) ГИДРАВЛИКА
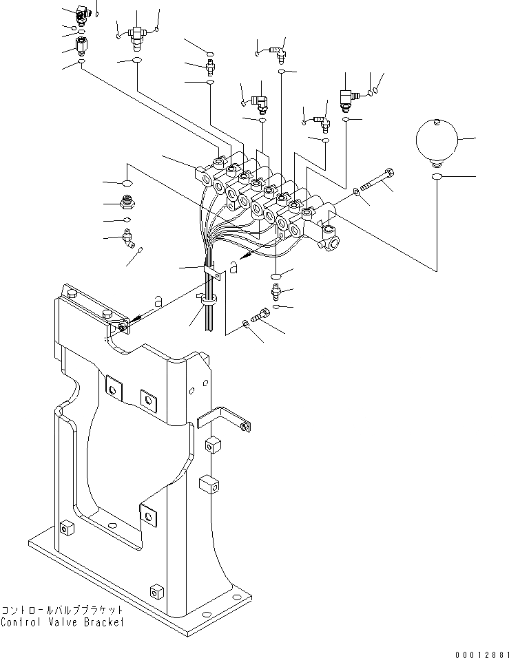
1
2
3
4
5
6
7
8
9
10
11
12
13
14
15
16
17
18
18
19
20
21
21
22
22
22
22
22
22
22
22
23
24
25
26
27
28
29
30
31
32
33
34
FIT
1:1
100%

Артикул

Название

Примечание

Количество

1

207-60-71320

VALVE ASS'Y,(SEE FIG.Y1860-01A1)

2

04434-52112

CLIP

3

01010-81225

BOLT

4

01643-31232

WASHER

5

08034-20536

BAND

6

20Y-62-22271

ELBOW

7

201-60-11390

O-RING

8

20Y-62-19560

O-RING

9

208-62-71750

ELBOW

10

02896-11008

O-RING

11

02783-10210

ELBOW

12

02896-11008

O-RING

13

21W-62-42490

ELBOW

14

02896-11009

O-RING

15

11Y-62-12130

NIPPLE

16

02896-11008

O-RING

17

20Y-62-43690

TEE

18

02896-11008

O-RING

19

21M-62-16350

ADAPTER

20

207-62-72141

ELBOW

21

02896-11008

O-RING

22

07002-11423

O-RING

23

02781-00315

UNION

24

02896-11009

O-RING

25

07002-12034

O-RING

26

20Y-62-21940

FILTER ASS'Y

27

07002-12034

O-RING

28

21W-62-42490

ELBOW

29

02896-11009

O-RING

30

07002-11423

O-RING

31

01010-81090

BOLT

32

01643-31032

WASHER

33

22U-60-21330

ACCUMULATOR

34

07002-12034

O-RING

Выбрано товаров: 34