Запчасти Komatsu PC400-7 ОСНОВН. КОНСТРУКЦИЯ (КАБИНА) (ОКНО В КРЫШЕ) K КАБИНА ОПЕРАТОРА И СИСТЕМА УПРАВЛЕНИЯ

Схема запчастей Komatsu PC400-7 - ОСНОВН. КОНСТРУКЦИЯ (КАБИНА) (ОКНО В КРЫШЕ) K КАБИНА ОПЕРАТОРА И СИСТЕМА УПРАВЛЕНИЯ
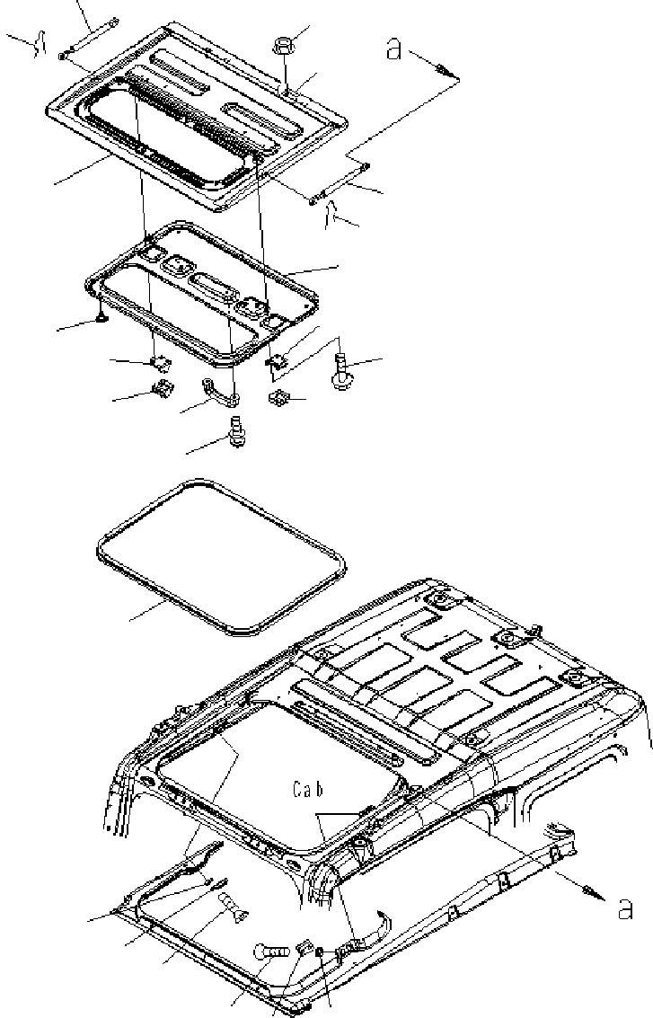
10
8
4
9
7
6
9
8
16
5
12
11
2
3
11
12
1
15
13
14
14
13
15
FIT
1:1
100%

Артикул

Название

Примечание

Количество

|$1

208-53-0J120

CAB ASS'Y

|$2

208-53-00140

CAB ASS'Y

|$3

208-53-0J140

CAB ASS'Y

|$4

208-53-00150

CAB ASS'Y

|$5

208-53-0J130

CAB ASS'Y

|$6

208-53-00120

CAB ASS'Y

|$7

208-53-0J110

CAB ASS'Y VANDALISM

1

208-53-15710

ROOF

2

208-53-11M50

HINGE

3

01584-30806

NUT

4

20Y-54-J1660

COVER

5

20Y-54-35410

RIVET

6

20Y-54-14590

HANDLE

7

01023-10616

SCREW

8

22B-54-15990

LOCK ASS'Y

9

20Y-54-36360

COVER

10

01435-40616

BOLT

11

20Y-54-36342

GAS SPRING ASS'Y

12

04052-10833

PIN

13

22U-54-28920

STRIKER

14

01245-00820

SCREW

15

20Y-54-52651

SPACER

16

20Y-54-51760

SEAL

Выбрано товаров: 0