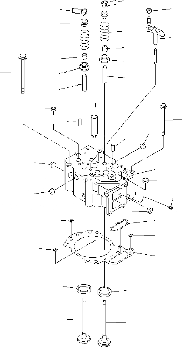
Запчасти Komatsu PC400-7 ГОЛОВКА ЦИЛИНДРОВ AA ДВИГАТЕЛЬ [SAADE- заводской номер -UP]

Схема запчастей Komatsu PC400-7 - ГОЛОВКА ЦИЛИНДРОВ AA ДВИГАТЕЛЬ [SAADE- заводской номер -UP]
8
6
1
6
10
27
2
10
7
6
6
25
24
4
3
21
23
22
6
12
11
5
14
17
16
13
15
13
15
16
17
14
5
9
18
19
20
26
FIT
1:1
100%

Артикул

Название

Примечание

Количество

|$1

6156-11-1100

CYLINDER HEAD ASS'Y,VALVE LESS

1

HEAD, CYLINDER

2

6136-11-1130

SLEEVE

3

6150-11-1320

INSERT,EXHAUST VALVE (STD)

|$5

6150-19-1320

INSERT, 025MM,EXHAUST VALVE (OS)

|$6

6150-18-1320

INSERT, 050MM,EXHAUST VALVE (OS)

|$7

6150-17-1320

INSERT, 075MM,EXHAUST VALVE (OS)

|$8

6150-16-1320

INSERT, 100MM,EXHAUST VALVE (OS)

4

6150-12-1380

INSERT,INTAKE VALVE (STD)

|$10

6150-19-1380

INSERT, 025MM,INTAKE VALVE (OS)

|$11

6150-18-1380

INSERT, 050MM,INTAKE VALVE (OS)

|$12

6150-17-1380

INSERT, 075MM,INTAKE VALVE (OS)

|$13

6150-16-1380

INSERT, 100MM,INTAKE VALVE (OS)

5

6150-12-1370

GUIDE,VALVE (SERVICE ONLY)

6

6162-13-1150

PLUG

7

07046-41810

PLUG

8

07043-70108

PLUG

9

6150-11-1140

GUIDE

10

04020-00820

PIN,DOWEL

11

6150-42-4110

VALVE,INTAKE

12

6150-42-4210

VALVE,EXHAUST

13

6150-41-4510

SEAT,UPPER

14

6150-41-4430

SEAT,LOWER

15

6136-42-4520

COTTER,VALVE

16

6150-41-4450

SPRING

17

6150-41-4570

SEAL,VALVE STEM (K1)

|$27

6150-42-5600

CROSSHEAD ASS'Y

18

6150-42-5610

CROSSHEAD

19

6150-41-5621

SCREW

20

6150-41-5630

NUT

21

6151-12-1810

GASKET (K1)

|$33

GROMMET, OIL

|$34

GROMMET, OIL

|$35

GROMMET, WATER

|$36

GROMMET, WATER

22

6151-19-1810

GASKET

|$39

GROMMET, OIL

|$40

GROMMET, OIL

|$41

GROMMET, WATER

|$42

GROMMET, WATER

26

6150-11-1610

BOLT

27

01438-01020

BOLT

Выбрано товаров: 42