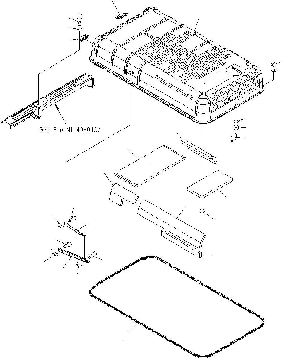
Запчасти Komatsu PC400-7 КАПОТ M ЧАСТИ КОРПУСА

Схема запчастей Komatsu PC400-7 - КАПОТ M ЧАСТИ КОРПУСА
2
1
19
20
2
9
7
8
16
10
12
13
11
18
17
15
16
18
14
18
6
3
4
5
5
4
FIT
1:1
100%

Артикул

Название

Примечание

Количество

1

208-54-71110

HOOD

2

20Y-54-27123

HINGE (WELDED)

3

207-54-61270

U-BOLT

4

01580-11613

NUT

5

01643-31645

WASHER

6

207-54-62131

SEAL

7

208-54-73910

SHEET

8

208-54-73920

SHEET

9

208-54-73930

SHEET

10

208-54-73150

SHEET

11

208-54-73161

SHEET

12

208-54-73190

SHEET

13

04431-30000

PLATE

14

207-54-72150

STAY

15

20Y-54-27290

STAY

16

04205-31230

PIN

17

04205-31238

PIN

18

04052-01253

PIN

19

01010-81230

BOLT

20

01643-31232

WASHER

Выбрано товаров: 20