Запчасти Komatsu PC400-8 СОЛЕНОИДНЫЙ КЛАПАН (КЛАПАН) ( АКТУАТОР)(№7-) ГИДРАВЛИКА

Схема запчастей Komatsu PC400-8 - СОЛЕНОИДНЫЙ КЛАПАН (КЛАПАН) ( АКТУАТОР)(№7-) ГИДРАВЛИКА
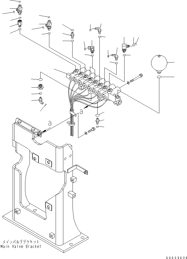
1
2
3
4
5
6
7
8
9
10
11
12
13
14
14
15
16
17
17
18
18
18
18
18
18
18
18
19
20
21
22
23
24
25
26
27
28
FIT
1:1
100%

Артикул

Название

Примечание

Количество

1

207-60-71320

VALVE ASS'Y

2

20Y-62-22271

ELBOW

3

201-60-11390

O-RING

4

20Y-62-19560

O-RING

5

208-62-71750

ELBOW

6

02896-11008

O-RING

7

02783-10210

ELBOW

8

02896-11008

O-RING

9

21W-62-42490

ELBOW

10

02896-11009

O-RING

11

11Y-62-12130

NIPPLE

12

02896-11008

O-RING

13

11Y-62-12330

ELBOW

14

02896-11008

O-RING

15

21M-62-16350

ADAPTER

16

11Y-62-12330

ELBOW

17

02896-11008

O-RING

18

07002-11423

O-RING

19

02781-00422

UNION

20

02896-11012

O-RING

21

07002-12034

O-RING

22

20Y-62-21940

FILTER ASS'Y

23

07002-12034

O-RING

24

21W-62-42490

ELBOW

25

02896-11009

O-RING

26

07002-11423

O-RING

27

22U-60-21330

ACCUMULATOR

28

07002-12034

O-RING

Выбрано товаров: 28