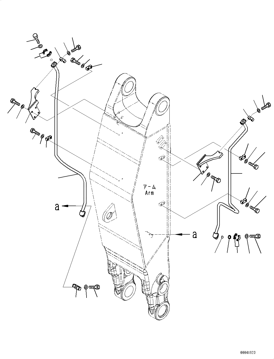
Запчасти Komatsu PC400-8 РУКОЯТЬ, ЦИЛИНДР РУКОЯТИТРУБЫ, НИЖН. (№7-) РУКОЯТЬ, ПРЯМАЯ ЛОПАТА CONFIGURATION

Схема запчастей Komatsu PC400-8 - РУКОЯТЬ, ЦИЛИНДР РУКОЯТИТРУБЫ, НИЖН. (№7-) РУКОЯТЬ, ПРЯМАЯ ЛОПАТА CONFIGURATION
12
11
9
8
7
3
1
4
2
6
5
7
8
9
15
14
13
17
16
10
6
5
15
17
16
7
9
8
8
7
9
7
8
9
7
8
9
FIT
1:1
100%

Артикул

Название

Примечание

Количество

1

208-72-72411

Tube

2

208-72-72421

Tube

3

208-72-72430

Bracket

4

208-72-72440

Bracket

5

01010-81435

Bolt

6

01643-31445

Washer, Flat

7

205-62-68240

Clamp

8

01010-81250

Bolt

9

01643-31232

Washer

10

202-62-13140

Clamp

11

01010-81260

Bolt

12

01643-31232

Washer

13

07378-10600

Head

14

07000-13025

O-ring

15

07371-30640

Flange, Split

16

07372-21035

Bolt

17

01643-51032

Washer

Выбрано товаров: 17