Качественные детали и логистика
Оригинальные и аналоговые запчасти с доставкой по России, Казахстану и Беларуси
©2022 PartSell ООО "Система" ИНН 2463123282 ОГРН 1212400004838
Центральный офис: г. Красноярск, Академика Киренского, д.87, пом.4
Телефон: 8 (800) 777-65-74 Email: zakaz@partsell.ru
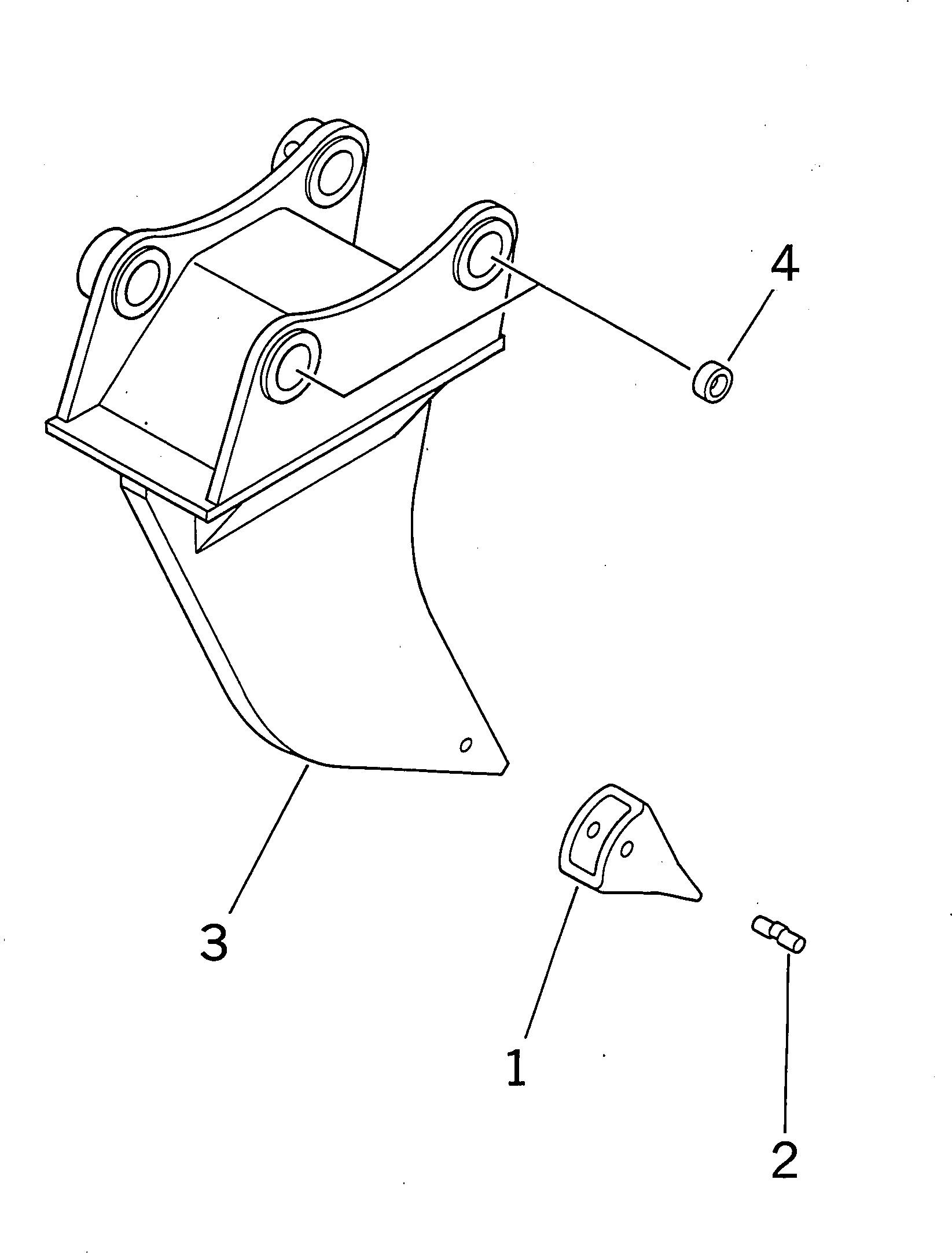
-SHANK РЫХЛИТЕЛЬ, ПАЛЕЦ (№7-)
№
Артикул
Название
Примечание
Количество
|$0
208-950-0010
Ripper Assembly
1
195-78-21331
Point
2
09244-02508
Pin
3
Ripper
4
208-70-34270
Collar
Выбрано товаров: 0