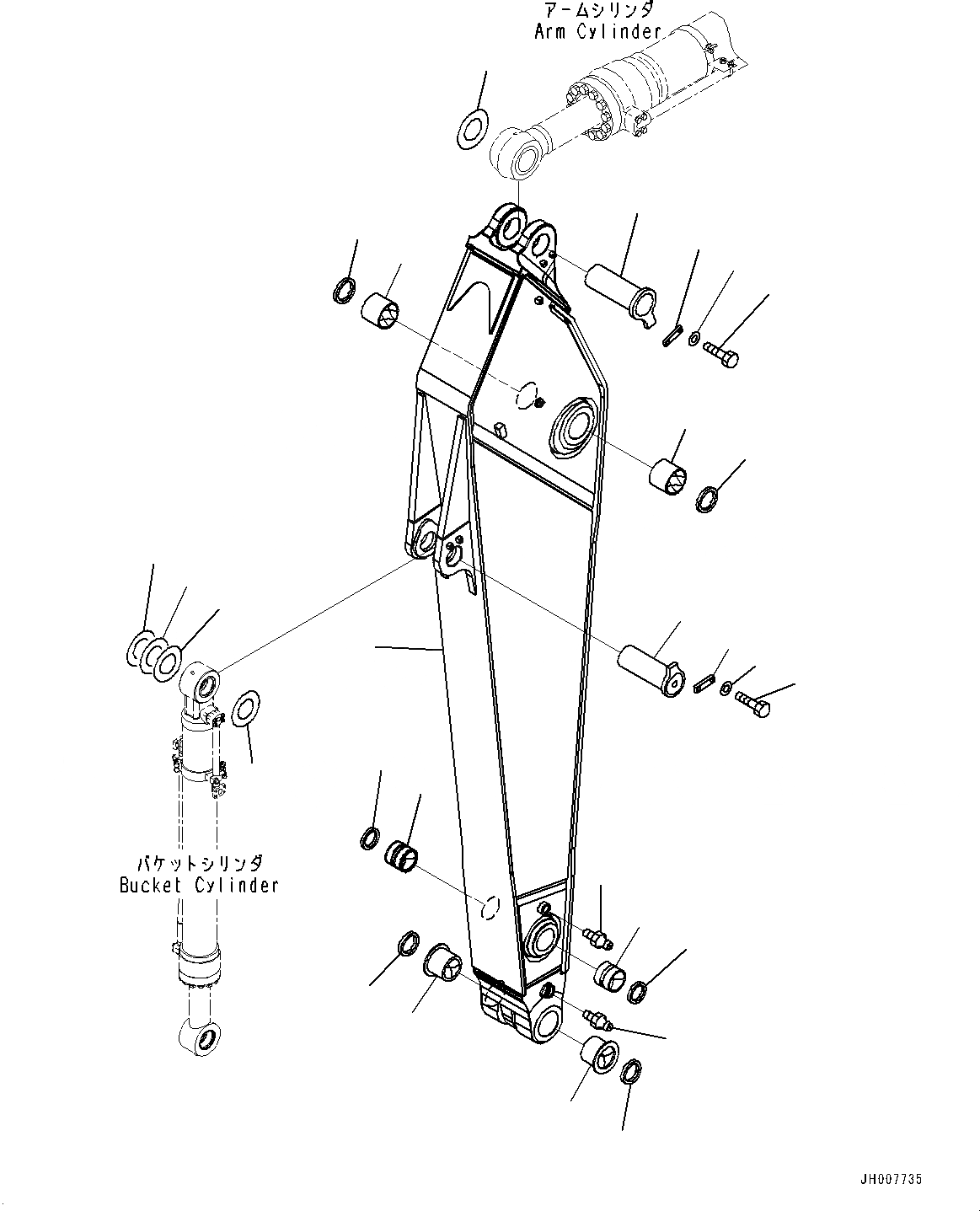
Запчасти Komatsu PC400-8R РУКОЯТЬ, РУКОЯТЬ И ПАЛЕЦ (№7-) РУКОЯТЬ, MM, УСИЛЕНН., ЧАС. СМАЗКА INTERVAL

Схема запчастей Komatsu PC400-8R - РУКОЯТЬ, РУКОЯТЬ И ПАЛЕЦ (№7-) РУКОЯТЬ, MM, УСИЛЕНН., ЧАС. СМАЗКА INTERVAL
4
7
4
5
3
5
6
7
7
9
10
11
6
8
1
7
3
2
2
17
13
14
16
15
17
18
17
12
FIT
1:1
100%

Артикул

Название

Примечание

Количество

|$0

208-70-00990

Arm Assembly

1

Arm

2

208-70-61521

Bushing

3

208-70-13141

Bushing

4

208-70-72170

Bushing

5

07020-00000

Fitting, Grease

6

07145-00120

Seal, Dust

7

208-70-73530

Seal, Dust

8

208-70-61220

Pin

9

205-70-66580

Plate

10

01010-81235

Bolt

11

01643-31232

Washer

12

207-70-11370

Spacer, T=1.5mm

13

208-70-61241

Pin

14

205-70-66581

Plate

15

01010-81235

Bolt

16

01643-31232

Washer

17

207-70-11350

Spacer, T=1.5mm

18

207-70-11340

Spacer, T=0.8mm

Выбрано товаров: 19