Качественные детали и логистика
Оригинальные и аналоговые запчасти с доставкой по России, Казахстану и Беларуси
©2022 PartSell ООО "Система" ИНН 2463123282 ОГРН 1212400004838
Центральный офис: г. Красноярск, Академика Киренского, д.87, пом.4
Телефон: 8 (800) 777-65-74 Email: zakaz@partsell.ru
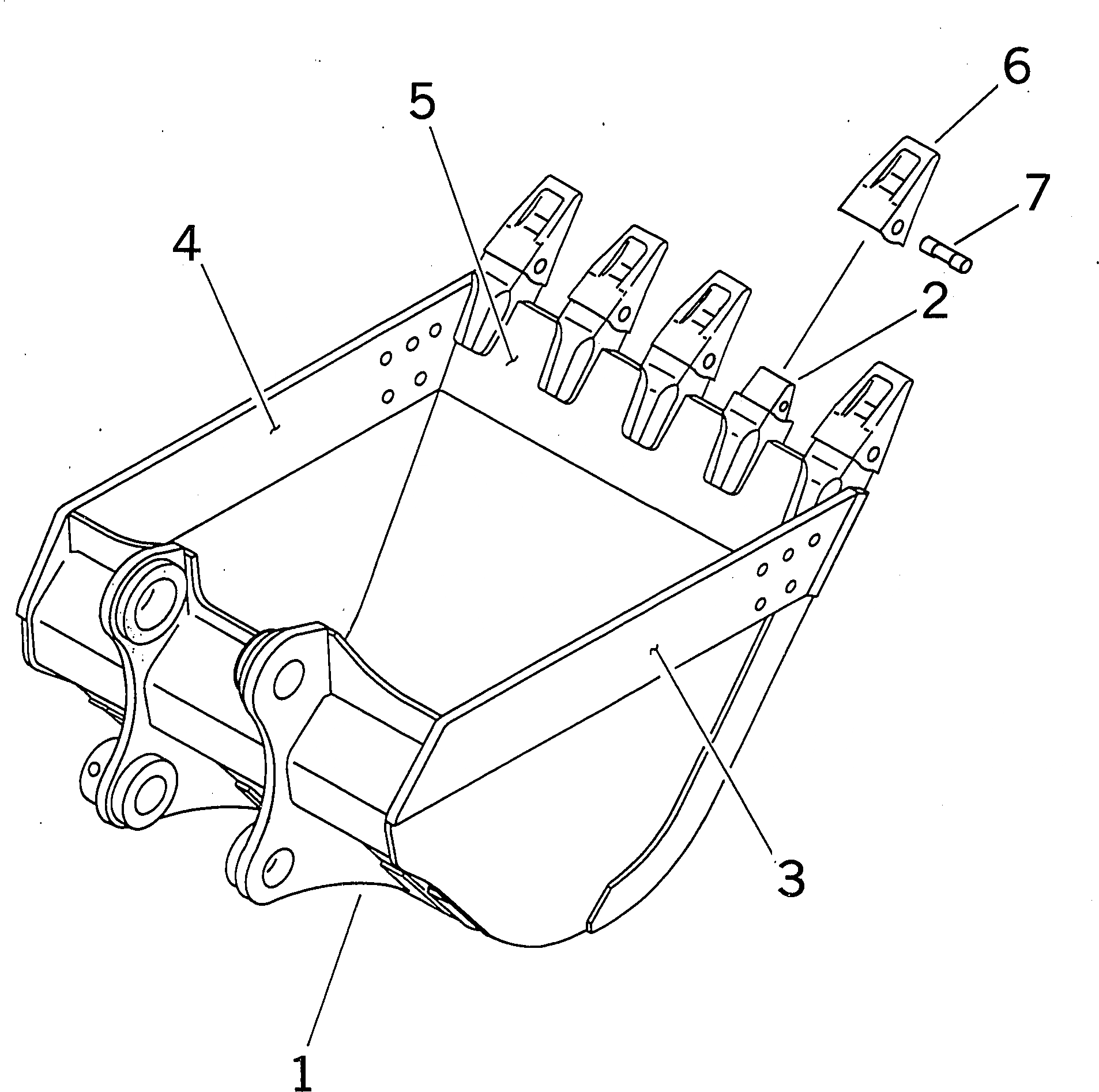
ЭКСКАВАТ. КОВШ, КОВШ (№7-)
№
Артикул
Название
Примечание
Количество
1
208-920-5310
Bucket
2
208-939-3120
Adapter,Welded
3
208-70-54121
Plate,Welded
4
208-70-54131
5
208-920-5120
6
208-70-14152
Tooth
7
09244-03036
Pin
Выбрано товаров: 0