Запчасти Komatsu PC400-8R ЭКСКАВАТ. КОВШ, КОВШ (№7-) ЭКСКАВАТ. КОВШ, .M, MM, ВЕРТИКАЛЬН. ПАЛЕЦ, С КРЮК

Схема запчастей Komatsu PC400-8R - ЭКСКАВАТ. КОВШ, КОВШ (№7-) ЭКСКАВАТ. КОВШ, .M, MM, ВЕРТИКАЛЬН. ПАЛЕЦ, С КРЮК
FIT
1:1
100%

Артикул

Название

Примечание

Количество

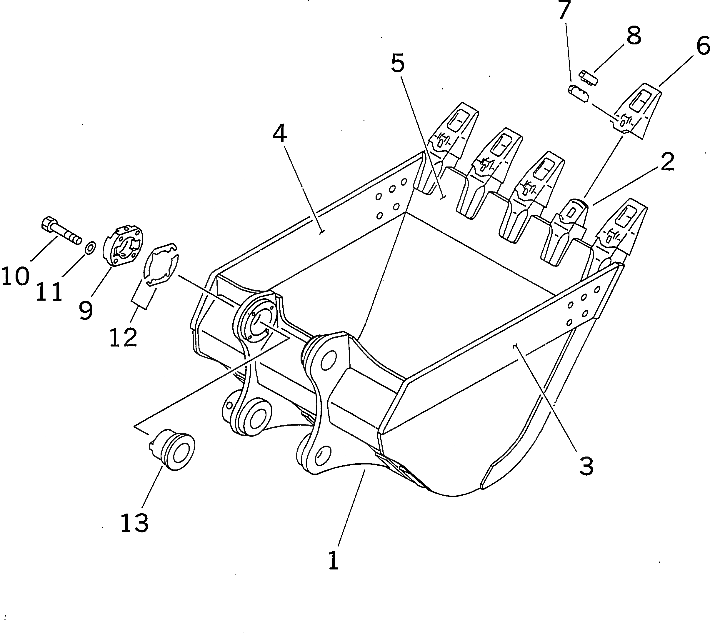
1

208-920-5110

Bucket

2

208-70-34150

Adapter,Welded

3

208-70-54121

Plate,Welded

4

208-70-54131

Plate,Welded

5

208-920-5120

Plate,Welded

6

208-70-34211

Tooth

7

208-70-34220

Pin

8

208-70-34191

Lock

9

208-70-34240

Cover

10

01010-62470

Bolt

11

01643-32460

Washer

12

208-70-00081

Shim Assembly

12

Shim, T=1.0mm

12

Shim, T=0.5mm

13

208-70-34230

Bushing

Выбрано товаров: 15