Запчасти Komatsu PC400-8R ПРЕДПУСК. ПОДОГРЕВ, КРЕПЛЕНИЕ ОБОГРЕВАТЕЛЯING (/) (№7-) ПРЕДПУСК. ПОДОГРЕВ, EXTREME МОРОЗОУСТОЙЧИВ. СПЕЦИФ-Я (-DEG C)

Схема запчастей Komatsu PC400-8R - ПРЕДПУСК. ПОДОГРЕВ, КРЕПЛЕНИЕ ОБОГРЕВАТЕЛЯING (/) (№7-) ПРЕДПУСК. ПОДОГРЕВ, EXTREME МОРОЗОУСТОЙЧИВ. СПЕЦИФ-Я (-DEG C)
FIT
1:1
100%

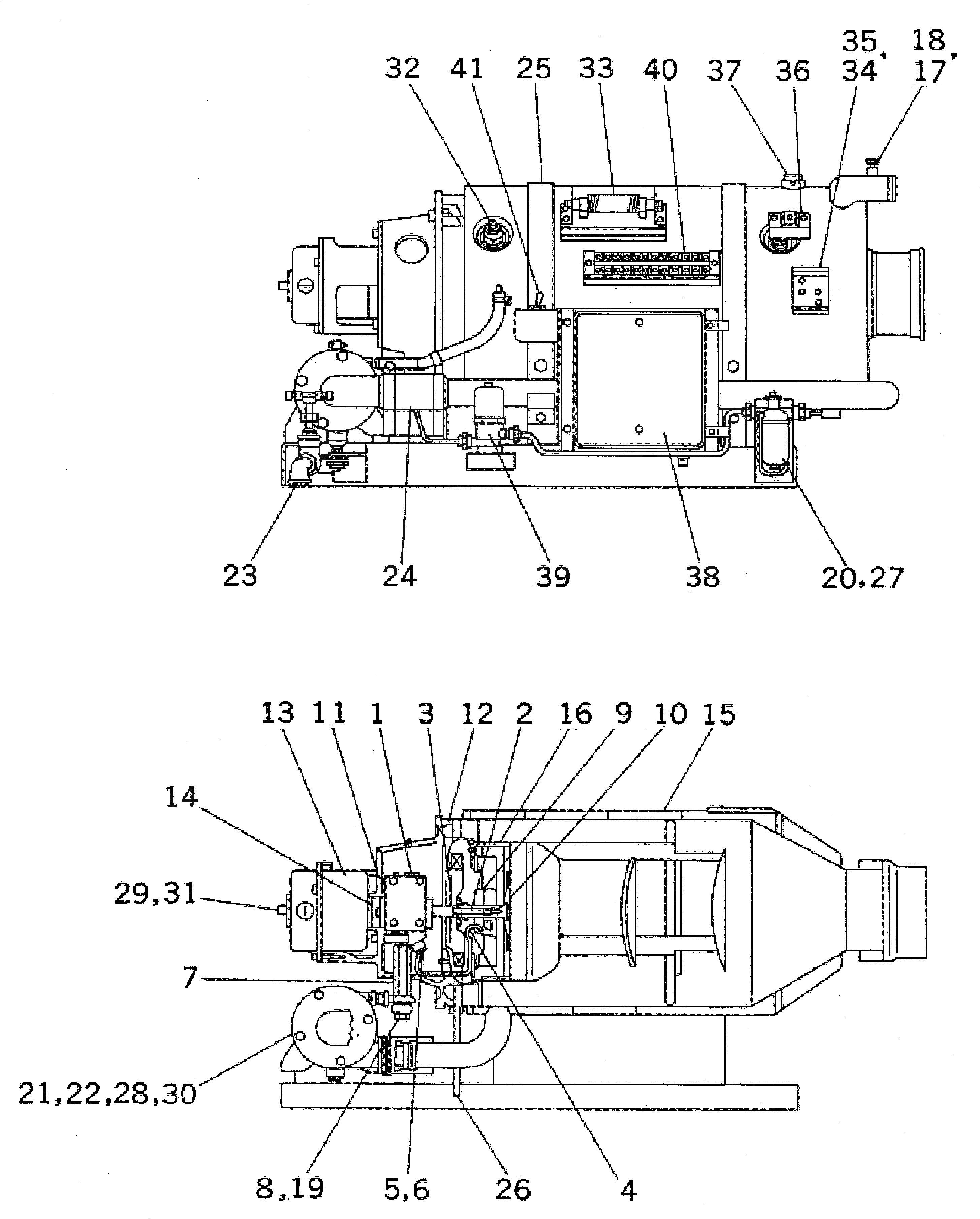
Артикул

Название

Примечание

Количество

|$0

208-977-7130

Heater

|$1

205-01-69370

Heater

1

MK503-084

Pump

2

MK021-004

Pin

3

MK536-262

Blower

4

MK535-001

Pipe

5

MK001019

Bolt

5

MK65HL3/39

Bolt

6

MK003028

Washer

7

MK535-050

Pipe

8

MK003-027

Packing

9

MK500-044

Body

10

MK539-022

Cap

11

MK537-007

Housing

12

MK013-084

Packing

13

MK535-012

Housing

14

MK536-030

Coupling

15

MK537-167

Heater

16

MK535-019

Ring

17

MK001-041

Valve, Relief

18

MK010-002

O-ring

19

MK001-020

Bolt

20

MK040-085

Filter

20

MKSW-1WK

Filter

21

MKWP-10

Motor

22

MK054-037

Motor

23

MK008-078

Valve

24

MK016-034

Rubber

25

MK007-080

Band

26

MK020-155

Pipe

27

MKSW-1WD/21A

Element

28

MK014-005

Rubber

29

MK051-106

Brush

30

MK054-033

Brush

31

MK054-036

Motor

32

MK061-010

Plug

33

MK060-080

Resistor

34

MK070-010

Fuse

35

MK012005

Packing

36

MK059-012

Control

37

MK042-039

Control

38

MK057-058

Box

39

MK041-023

Valve

40

MK069-032

Board

41

MK067-047A

Switch Assembly

Выбрано товаров: 45