Запчасти Komatsu PC400-8R ТОПЛИВН. БАК. (№7-) ТОПЛИВН. БАК., ДЛЯ MACHINE С НАСОС ПОДКАЧКИ ТОПЛИВА, EXTREMELY BAD ТОПЛИВН. И ПЛОХ. ТОПЛИВО ARRANGEMENT СПЕЦ-Я. ВОДН.+DUST

Схема запчастей Komatsu PC400-8R - ТОПЛИВН. БАК. (№7-) ТОПЛИВН. БАК., ДЛЯ MACHINE С НАСОС ПОДКАЧКИ ТОПЛИВА, EXTREMELY BAD ТОПЛИВН. И ПЛОХ. ТОПЛИВО ARRANGEMENT СПЕЦ-Я. ВОДН.+DUST
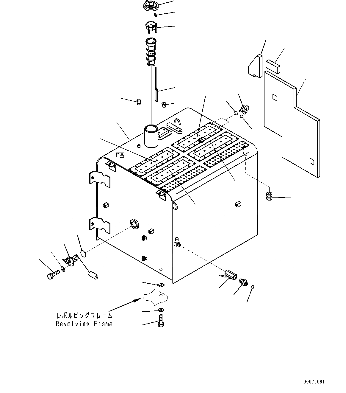
22
22
26
20
21
12
9
11
3
4
19
18
17
7
1
8
6
10
5
2
13
14
15
16
23
24
25
22
22
FIT
1:1
100%

Артикул

Название

Примечание

Количество

1

208-04-75312

Tank

2

07700-40460

Valve, Fuel Drain

3

208-04-71740

Nipple

4

02896-11015

O-ring

5

02782-10315

Elbow

6

02896-11009

O-ring

7

07002-12034

O-ring

8

20Y-04-11161

Cap

8

20Y-04-11240

Packing

9

7861-92-5810

Sensor

10

07000-13050

O-ring

11

01010-80612

Bolt

12

01643-30623

Washer

12

22U-04-21241

Strainer Assembly

12

22U-04-21200

Float Assembly

13

22U-04-21210

Guide

14

20Y-04-21580

Cap

15

22U-04-21220

Float

16

07056-18425

Strainer

17

208-04-76280

Sheet

18

208-04-71231

Sheet

19

208-04-71241

Sheet

20

203-04-K1140

End

21

07042-30211

Plug, Taper

22

20Y-00-42120

Plate

23

01010-81635

Bolt

24

01643-31645

Washer

25

195-03-11570

Shim, T=1.0mm

26

07049-01215

Plug

Выбрано товаров: 29