Запчасти Komatsu PC400 ЦИЛИНДР КОВША РАБОЧЕЕ ОБОРУДОВАНИЕ (ЭКСКАВАТ.)

Схема запчастей Komatsu PC400 - ЦИЛИНДР КОВША РАБОЧЕЕ ОБОРУДОВАНИЕ (ЭКСКАВАТ.)
FIT
1:1
100%

Артикул

Название

Примечание

Количество

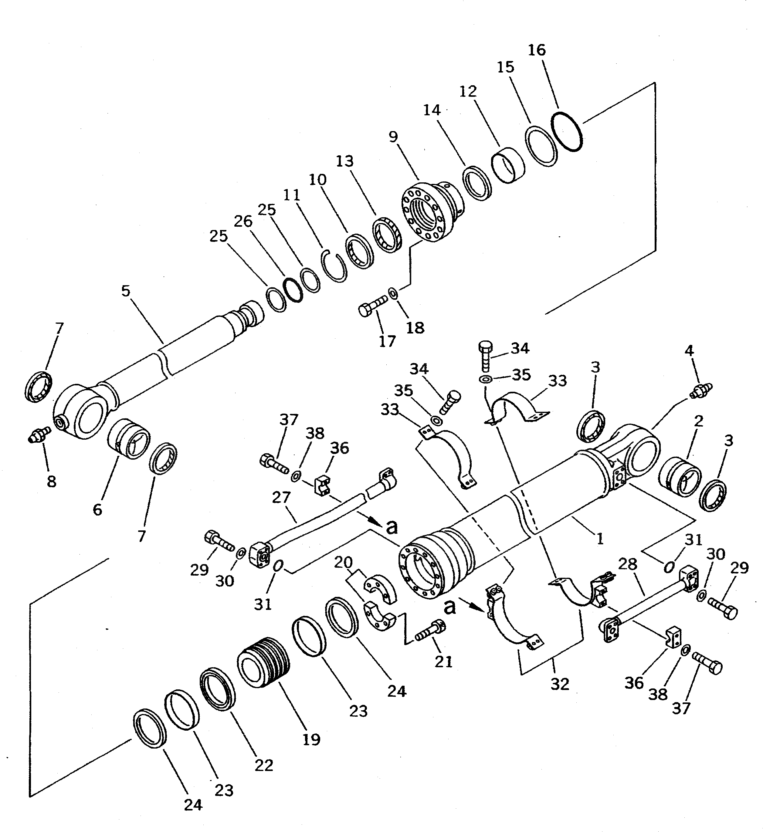
G-1

208-63-X2130

BUCKET CYLINDER G.

|$2

208-63-02130

BUCKET CYLINDER A.

1

208-63-73140

CYLINDER

2

707-76-10130

BUSHING

3

07145-00100

SEAL,DUST (KIT)

4

07020-00000

FITTING,GREASE

5

208-63-73120

ROD

6

707-76-10140

BUSHING

7

208-70-12231

SEAL,DUST (KIT)

8

07020-00000

FITTING,GREASE

9

707-27-16620

HEAD

10

198-63-94170

SEAL,DUST (KIT)

11

07179-13126

RING,SNAP

12

707-52-90860

BUSHING

13

707-51-11030

PACKING,ROD (KIT)

14

707-51-11630

RING,BUFFER (KIT)

15

07001-05155

RING,BACK-UP (KIT)

16

07000-15155

O-RING (KIT)

17

01010-82085

BOLT

18

707-88-75310

WASHER

19

707-36-16320

PISTON

20

707-40-16870

SPACER

21

01252-31450

BOLT

22

707-44-16180

RING,PISTON (KIT)

23

707-39-16820

RING,WEAR (KIT)

24

707-44-16910

RING

25

707-35-52930

RING,BACK-UP (KIT)

26

07000-12090

O-RING (KIT)

27

208-63-73170

TUBE

28

208-63-73180

TUBE

29

01010-51060

BOLT

30

01643-51032

WASHER

31

07000-13035

O-RING (KIT)

32

707-88-87130

BRACKET

33

707-88-87140

BAND

34

01010-51240

BOLT

35

01643-51232

WASHER

36

707-88-10150

CLAMP

37

01010-51245

BOLT

38

01643-31232

WASHER

Выбрано товаров: 0