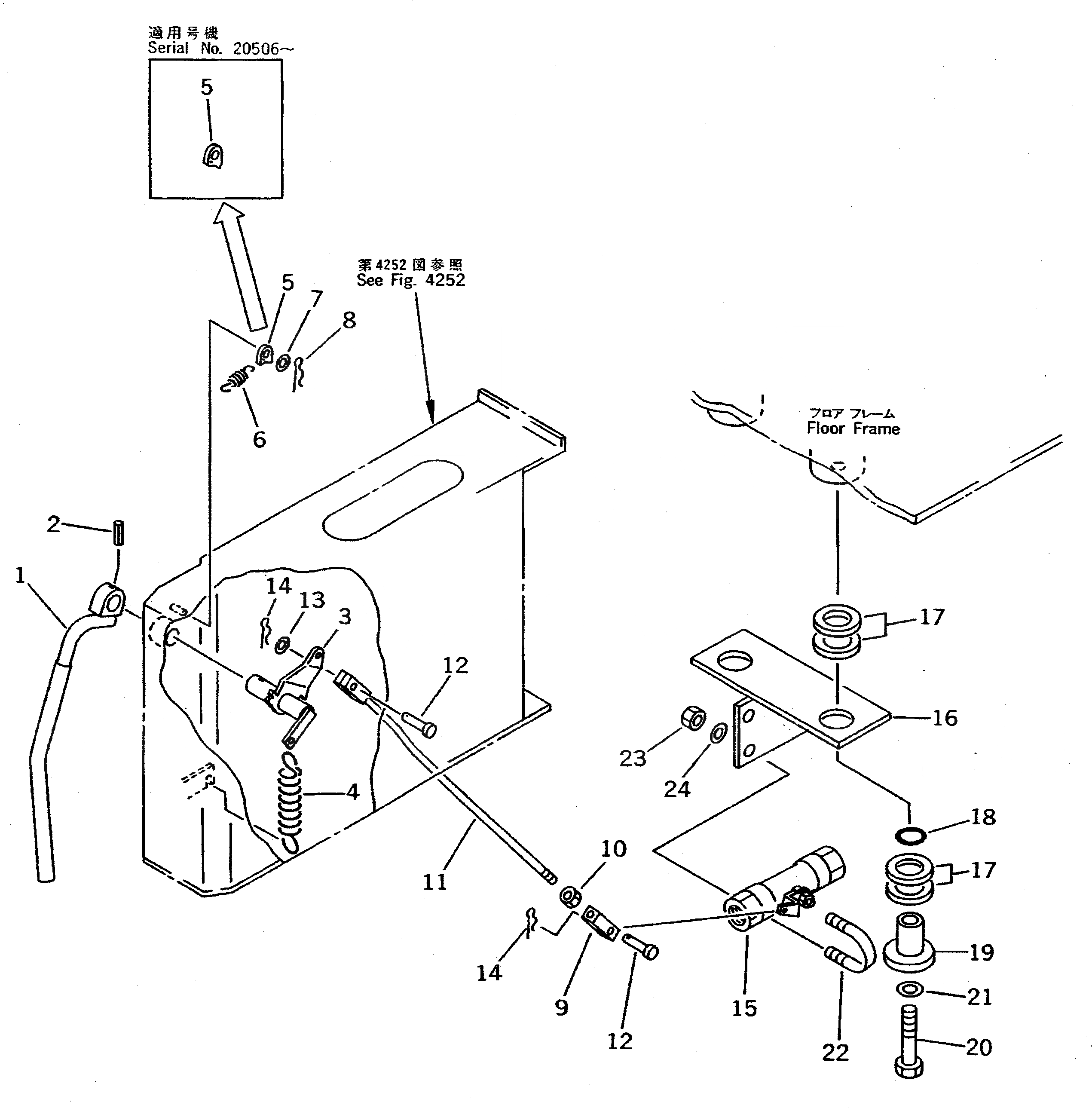
Запчасти Komatsu PC400 РЫЧАГ БЛОКИРОВКИ МЕХ-М УПРАВЛ-Я (ДЛЯ WRIST УПРАВЛ-Е) (СПЕЦ-Я TBG) СИСТЕМА УПРАВЛЕНИЯ И ОСНОВНАЯ РАМА

Схема запчастей Komatsu PC400 - РЫЧАГ БЛОКИРОВКИ МЕХ-М УПРАВЛ-Я (ДЛЯ WRIST УПРАВЛ-Е) (СПЕЦ-Я TBG) СИСТЕМА УПРАВЛЕНИЯ И ОСНОВНАЯ РАМА
FIT
1:1
100%

Артикул

Название

Примечание

Количество

1

208-43-51410

LEVER

2

04025-00432

PIN,SPRING

3

208-43-51432

LEVER

3

208-43-51431

LEVER

4

208-43-51420

SPRING

5

20Y-43-11844

CAM

5

20Y-43-11841

CAM

6

20Y-43-11830

SPRING

7

01641-20812

WASHER

8

04052-10833

PIN,SNAP

9

04211-20634

YOKE

10

01580-10605

NUT

11

207-43-53150

ROD

12

04205-10620

PIN

13

01641-00608

WASHER

14

04052-10633

PIN,SNAP

15

20Y-62-15650

VALVE

16

208-62-53651

BRACKET

17

208-62-53540

CUSHION

18

07000-03022

O-RING

19

208-62-53530

COLLAR

20

01010-51265

BOLT

21

01643-31232

WASHER

22

07283-23442

CLIP

23

01599-01011

NUT

24

01643-31032

WASHER

Выбрано товаров: 26